Качественные детали и логистика
Оригинальные и аналоговые запчасти с доставкой по России, Казахстану и Беларуси
©2022 PartSell ООО "Система" ИНН 2463123282 ОГРН 1212400004838
Центральный офис: г. Красноярск, Академика Киренского, д.87, пом.4
Телефон: 8 (800) 777-65-74 Email: zakaz@partsell.ru
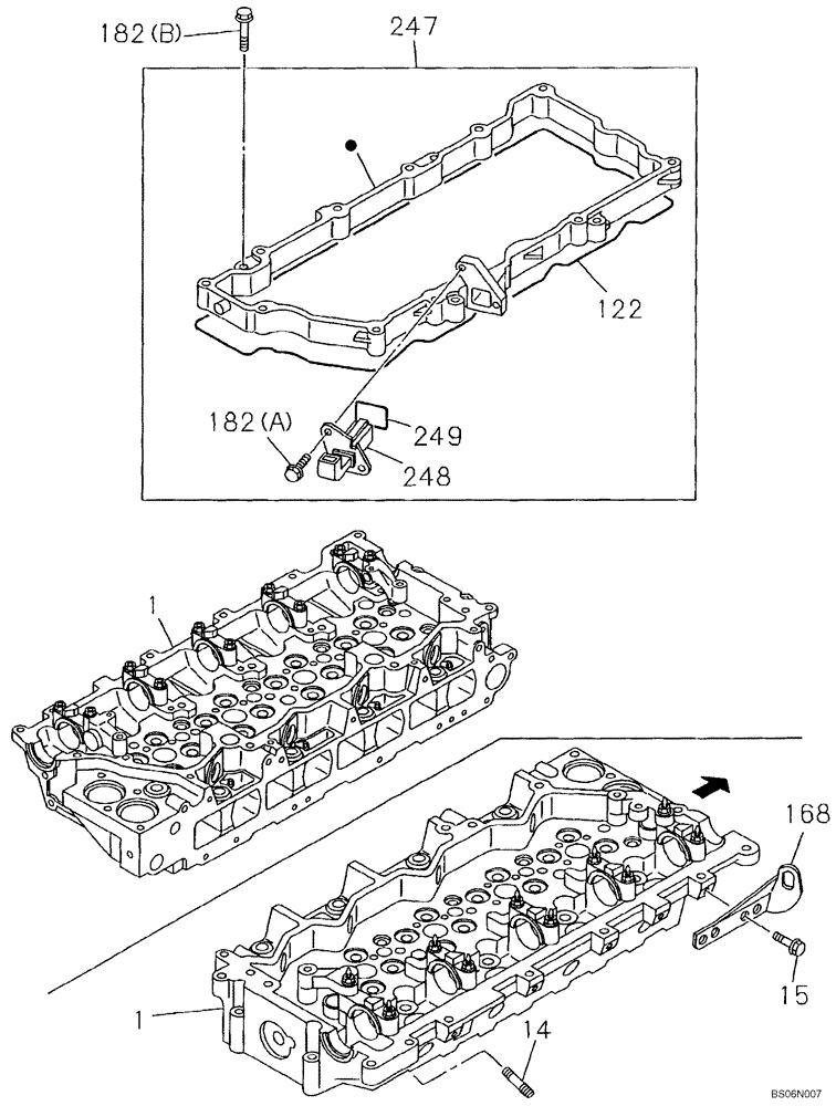
(02-12) - CYLINDER HEAD
№
Артикул
Название
Примечание
Количество
1
87654337
CYLINDER HEAD
See Figure 02-11; Replaces 87595278
1шт.
47607704R
REMAN-CYLINDER HEAD
Complete With Valves
47607704C
CORE-CYLINDER HEAD
Return Number
14
438137A1
STUD
2шт.
15
87595411
BOLT
122
87595470
GASKET
168
87595472
HANGER
182a
87595866
Replaces 87595805
182b
87595806
3шт.
247
87595813
CASE
Incl. 122, 182A, 248, 249
248
87380194
FITTING
249
87379336
Выбрано товаров: 0