Запчасти Case CX225SR (04-18) - BATTERIES (04) - ELECTRICAL SYSTEMS

Схема запчастей Case CX225SR - (04-18) - BATTERIES (04) - ELECTRICAL SYSTEMS
3
10
6
18
13
16
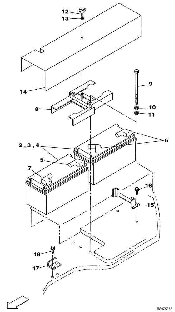
2
7
4
8
17
11
14
9
5
12
15
FIT
1:1
100%

Артикул

Название

Примечание

Количество

2

KHR3968

WET BATTERY

Dry Cell

2шт.

3

158403A1

TERMINAL CONNECTOR

Positive

2шт.

4

150455A1

TERMINAL CONNECTOR

Negative

2шт.

5

150360A1

CAP

1шт.

6

166116A1

DUST CAP

2шт.

7

166117A1

DUST CAP

1шт.

8

KRR1749

SUPPORT

1шт.

9

152821A1

BOLT,Spcl, Hex, M10 x 270mm

M10X270

2шт.

10

892-11010

LOCK WASHER,M10

2шт.

11

150409A1

WASHER

10,5 x 21 x 3,2 mm

2шт.

12

KMN1330

BOLT

1шт.

13

150409A1

WASHER

10,5 x 21 x 3,2 mm

1шт.

14

KRR1476

RUBBER PAD

1шт.

15

KRR1475

BREATHER

1шт.

16

166346A1

BOLT,Sems, M10

M10X16

2шт.

17

KRR1545

BREATHER

1шт.

18

166346A1

BOLT,Sems, M10

M10X16

2шт.

Выбрано товаров: 17