Качественные детали и логистика
Оригинальные и аналоговые запчасти с доставкой по России, Казахстану и Беларуси
©2022 PartSell ООО "Система" ИНН 2463123282 ОГРН 1212400004838
Центральный офис: г. Красноярск, Академика Киренского, д.87, пом.4
Телефон: 8 (800) 777-65-74 Email: zakaz@partsell.ru
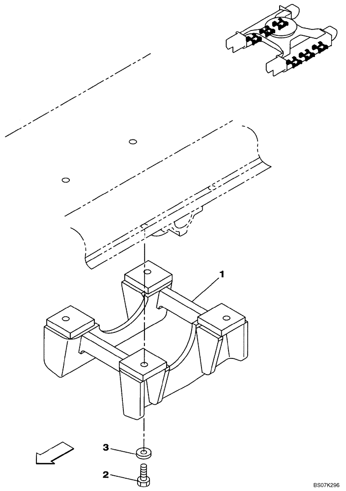
(05-10) - GUIDE, CHAIN - OPTIONAL
№
Артикул
Название
Примечание
Количество
1
KRA13360
GUIDE
Replaces KRA12140
6шт.
2
167067A1
SCREW,High Strength, M18 x 60mm
M18X60
24шт.
3
157546A1
WASHER,19mm ID x 36mm OD x 4.5mm Thk
Выбрано товаров: 0