Запчасти Case CX240 (08-38B) - KBC0157 GEAR ASSY, REDUCTION - MOTOR, SWING (08) - HYDRAULICS

Схема запчастей Case CX240 - (08-38B) - KBC0157 GEAR ASSY, REDUCTION - MOTOR, SWING (08) - HYDRAULICS
20
7
5
14
11
8
15
16
20
3
9
12
4
18
13
6
1
21
10
17
19
22
2
FIT
1:1
100%

Артикул

Название

Примечание

Количество

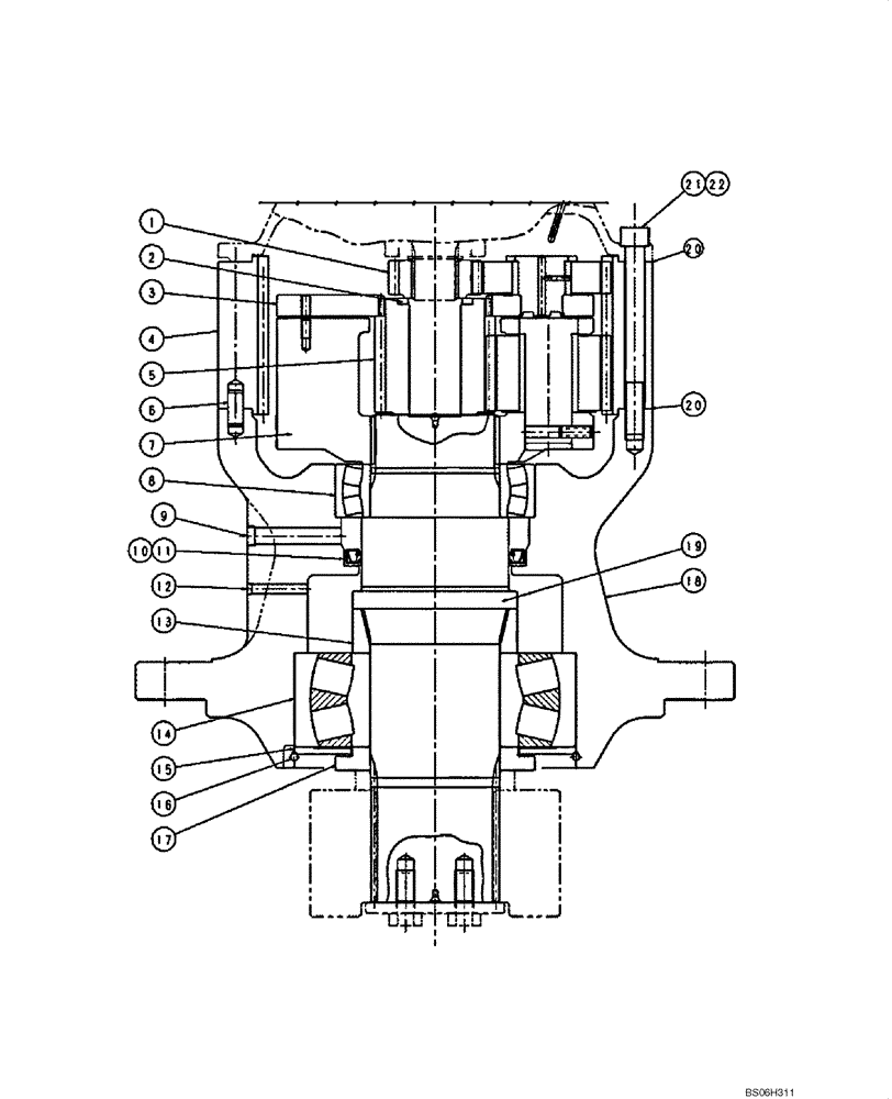
KBC0157

REDUCER

Incl. 1 - 22

1шт.

1

KBC0143

SUN GEAR

1шт.

2

KRC0154

PLATE

1шт.

3

KBC0151

PLANET CARRIER

1шт.

4

KBC0150

PINION

1шт.

5

KRC0146

PINION CARRIER

GEAR CARRIER

1шт.

6

KRC0155

PIN

4шт.

7

KBC0152

PLANET CARRIER

1шт.

8

KBC0100

BEARING, ROLLER,110mm ID x 170mm OD x 45mm W

1шт.

9

150824A1

PLUG

1шт.

10

KBC0102

OIL SEAL

1шт.

11

NSS

NOT SOLD SEPARAT

1шт.

12

158352A1

PLUG

2шт.

13

KBC0104

SPACER

1шт.

14

KBC0101

BEARING, ROLLER,110mm ID x 240mm OD x 80mm W

1шт.

15

KBC0103

BEARING COVER

1шт.

16

KBC0106

RETAINING WIRE

1шт.

17

KBC0105

SPACER

1шт.

18

KBC0098

HOUSING

1шт.

19

KBC0099

GEAR SHAFT

1шт.

20

NSS

NOT SOLD SEPARAT

3шт.

21

108R016Y150N

BOLT

16шт.

22

NSS

NOT SOLD SEPARAT

1шт.

Выбрано товаров: 23