Запчасти Case CX240 (08-47A) - CYLINDER ASSY, BOOM - MODELS WITH LOAD HOLD (08) - HYDRAULICS

Схема запчастей Case CX240 - (08-47A) - CYLINDER ASSY, BOOM - MODELS WITH LOAD HOLD (08) - HYDRAULICS
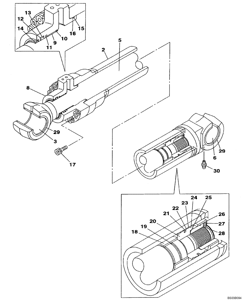
13
16
3
28
27
25
5
22
9
6
11
21
29
29
23
8
14
20
15
10
26
24
12
17
2
19
18
30
FIT
1:1
100%

Артикул

Название

Примечание

Количество

KBV1686

HYDRAULIC CYLINDER

Boom; Left Hand and Right Hand; Incl. 2 - 30

2шт.

LR00653

HYD TUBE

Incl. 2, 3

1шт.

2

NSS

NOT SOLD SEPARAT

Tube, Cylinder

1шт.

3

155408A1

BUSHING

1шт.

LB00625

PISTON ROD

Incl. 5, 6

1шт.

5

NSS

NOT SOLD SEPARAT

Rod, Piston

1шт.

6

155408A1

BUSHING

1шт.

8

LU00118

CYLINDER END CAP

Replaces LU00076

1шт.

9

160050A1

BUSHING

1шт.

10

155713A1

RING, SNAP

RING SNAP

1шт.

11

LE00479

RING

1шт.

12

158847A1

RING

1шт.

13

155249A1

BACK-UP RING

1шт.

14

161877A1

BACK-UP RING

1шт.

15

154761A1

O-RING,119.4mm ID x 3.1mm Width

1шт.

16

155240A1

BACK-UP RING

1шт.

17

161059A1

BOLT,Hex Skt, M16 x 70mm, Cl 12.9

12шт.

18

161878A1

BUSHING

1шт.

19

LE00707

RING

1шт.

20

160570A1

PISTON

1шт.

21

155311A1

SEALING RING

1шт.

22

160509A1

BACK-UP RING

1шт.

23

LE00708

SCRAPER RING

2шт.

24

155306A1

SEALING RING

2шт.

25

155737A1

SHIM

1шт.

26

LA00711

NUT

1шт.

27

156223A1

SET SCREW

1шт.

28

155977A1

BALL

1шт.

29

162962A1

WIPER SEAL

4шт.

30

153630A1

LUBE NIPPLE

1шт.

LZ00442

SEAL KIT

Incl. 11 - 16, 19, 21 - 25; Replaces LZ00369

1шт.

Выбрано товаров: 31