Качественные детали и логистика
Оригинальные и аналоговые запчасти с доставкой по России, Казахстану и Беларуси
©2022 PartSell ООО "Система" ИНН 2463123282 ОГРН 1212400004838
Центральный офис: г. Красноярск, Академика Киренского, д.87, пом.4
Телефон: 8 (800) 777-65-74 Email: zakaz@partsell.ru
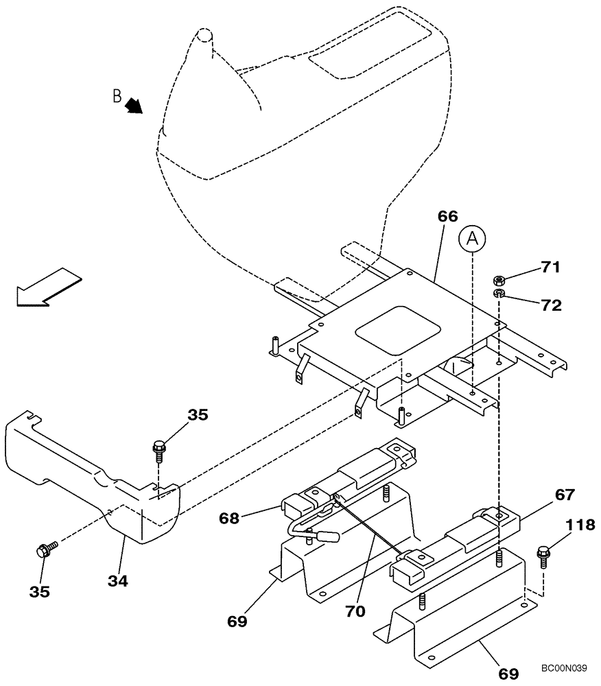
(09-16) - SEAT, MOUNTING
№
Артикул
Название
Примечание
Количество
34
KHN3586
COVER
Front; Replaces KHN2012
1шт.
35
KHN2132
BOLT,Hex Flg Hd, M6 x 16
4шт.
66
KHN2823
HOLDER
67
KHN2473
SLIDE GUIDE
68
KHN2474
69
KHN2475
CENTRAL RAIL
2шт.
70
KHN2476
71
829-1410
NUT,M10 x 1.5, Cl 10.9
8шт.
72
892-11010
LOCK WASHER,M10
118
627-10016
BOLT,Hex, M10 x 1.5 x 16mm, Cl 10.9, Full Thd
896-11010
WASHER,11mm ID x 21mm OD x 2.5mm Thk
Выбрано товаров: 0