Запчасти Case CX240 (05-07A) - TRACK - ROLLER, UPPER; PIN DAC0724171 - (11) - TRACKS/STEERING

Схема запчастей Case CX240 - (05-07A) - TRACK - ROLLER, UPPER; PIN DAC0724171 - (11) - TRACKS/STEERING
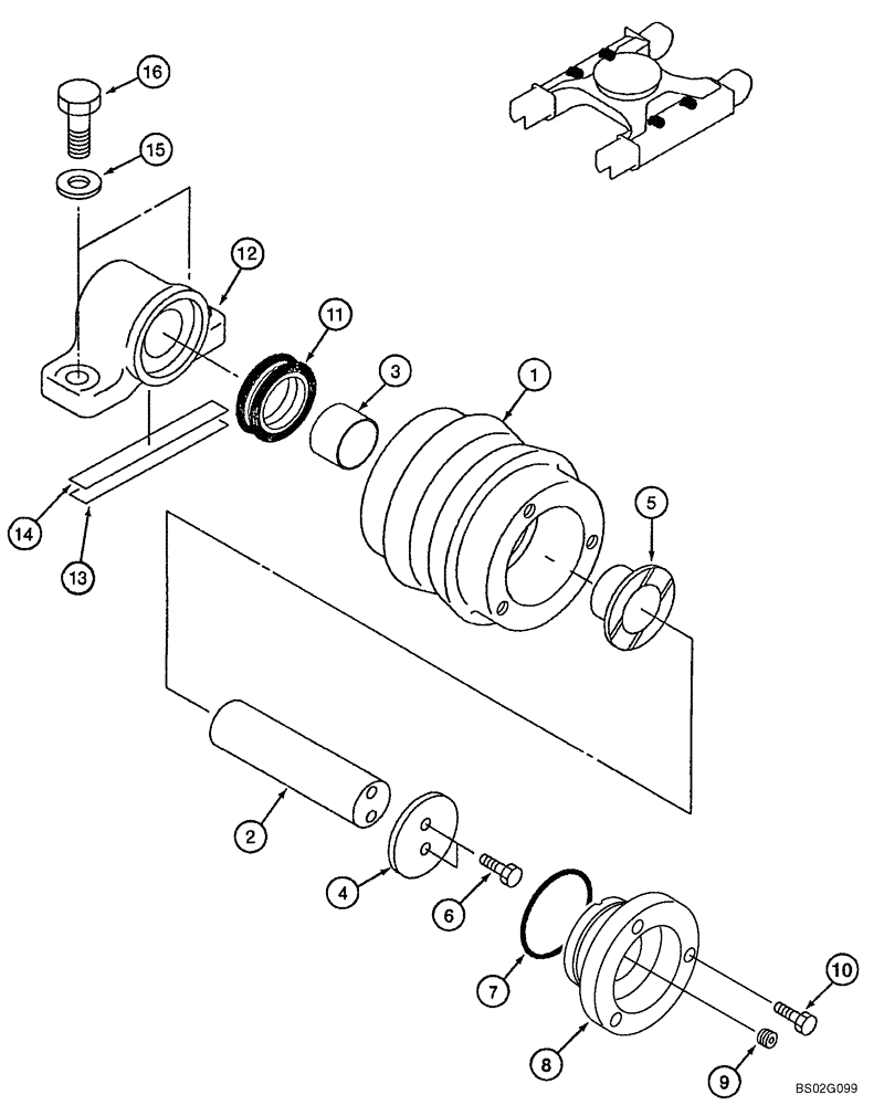
3
7
6
10
5
2
8
15
9
12
11
1
13
4
16
14
FIT
1:1
100%

Артикул

Название

Примечание

Количество

KRA1717-W

TRACK ROLLER

After Market

4шт.

KRA1717

TRACK ROLLER

Incl. 1 - 12

4шт.

1

KRA1718

TRACK ROLLER,140mm OD x 156mm W

1шт.

2

159692A1

WHEEL SHAFT

1шт.

3

158777A1

BUSHING,46mm ID x 50mm OD x 38mm L

1шт.

4

159685A1

PLATE, THRUST

1шт.

5

158776A1

BUSHING,46mm ID x 70mm OD x 42mm L

1шт.

6

626-10016

BOLT,Hex, M10 x 1.5 x 16mm, Cl 10.9, Full Thd

2шт.

7

154667A1

O-RING

1шт.

8

KRA1719

COVER

1шт.

9

150821A1

PLUG

1шт.

10

627-8025

BOLT,Hex, M8 x 1.25 x 25mm, Cl 10.9, Full Thd

3шт.

11

159399A1

SEAL,56mm ID x 76mm OD x 25mm Thk

1шт.

12

161713A1

CASING, BEARING ROLL

, Start Year: 01-NOV-09

1шт.

13

162197A1

SHIM

4шт.

14

150009A1

SHIM

4шт.

15

150817A1

WASHER,21mm ID x 40mm OD x 4.5mm Thk

8шт.

16

627-20050

BOLT,Hex, M20 x 2.5 x 50mm, Cl 10.9, Full Thd

8шт.

Выбрано товаров: 18