Запчасти Case CX240 (06-04) - MOTOR ASSY - TRACK DRIVE (06) - POWER TRAIN

Схема запчастей Case CX240 - (06-04) - MOTOR ASSY - TRACK DRIVE (06) - POWER TRAIN
35
69
93
59
32
26
49
74
33
48
64
29
32
72
34
2
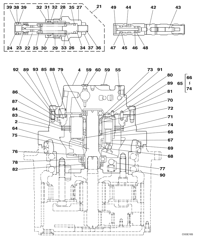
21
91
27
92
73
83
66
39
45
77
37
38
80
74
76
55
43
66
86
59
31
47
22
67
60
89
65
30
25
82
39
42
90
46
68
71
23
88
84
79
85
89
24
87
81
28
4
70
75
78
36
44
FIT
1:1
100%

Артикул

Название

Примечание

Количество

KRA1426

MOTO-REDUCTION GEAR

Travel; Incl. 2 - 93; Also Incl. Parts On Figure(s) 06-02, 06-03

1шт.

KRA1860

MOTO-REDUCTION GEAR

Travel; Incl. 2 - 93; Also Incl. Parts On Figure(s) 06-02, 06-03

1шт.

2

NSS

NOT SOLD SEPARAT

Housing

1шт.

4

NSS

NOT SOLD SEPARAT

Plate

1шт.

21

160565A1

VALVE

Incl. 22 - 39; Replaces LJ00743

2шт.

22

NSS

NOT SOLD SEPARAT

Sleeve, Coupling

1шт.

23

NSS

NOT SOLD SEPARAT

Poppet, Valve

1шт.

24

NSS

NOT SOLD SEPARAT

Seat, Valve

1шт.

25

NSS

NOT SOLD SEPARAT

Seat, Spring

1шт.

26

NSS

NOT SOLD SEPARAT

Spring

1шт.

27

NSS

NOT SOLD SEPARAT

Plug

1шт.

28

155225A1

O-RING

1шт.

29

NSS

NOT SOLD SEPARAT

Guide

1шт.

30

NSS

NOT SOLD SEPARAT

Piston

1шт.

31

154495A1

O-RING

1шт.

32

153977A1

BACK-UP RING

2шт.

33

NSS

NOT SOLD SEPARAT

Spring

1шт.

34

NSS

NOT SOLD SEPARAT

Seat, Spring

1шт.

35

165955A1

O-RING

1шт.

36

NSS

NOT SOLD SEPARAT

Setscrew

1шт.

37

160293A1

NUT

1шт.

38

154479A1

O-RING

1шт.

39

153964A1

BACK-UP RING

2шт.

42

NSS

NOT SOLD SEPARAT

Spool

1шт.

43

NSS

NOT SOLD SEPARAT

End

1шт.

44

TJ00203

FILTER

1шт.

45

154447A1

O-RING

1шт.

46

154443A1

O-RING

1шт.

47

153940A1

BACK-UP RING

1шт.

48

154061A1

BACK-UP RING

1шт.

49

160545A1

RING, SNAP

RING SNAP

1шт.

55

NSS

NOT SOLD SEPARAT

Plug

1шт.

59

161773A1

PLUG

4шт.

60

154467A1

O-RING,10.8mm ID x 2.4mm Width

4шт.

64

LB00545

SHAFT

1шт.

65

LS00128

MANIFOLD VALVE

Incl. 66 -74

1шт.

66

NSS

NOT SOLD SEPARAT

Block

1шт.

67

NSS

NOT SOLD SEPARAT

Piston Assy

9шт.

68

NSS

NOT SOLD SEPARAT

Holder

1шт.

69

NSS

NOT SOLD SEPARAT

Coupling

1шт.

70

160103A1

RING, SNAP

RING SNAP

1шт.

71

160203A1

SPRING SEAT

1шт.

72

160590A1

SPRING

1шт.

73

158113A1

COLLAR

1шт.

74

155631A1

COTTER PIN

3шт.

75

LR00581

PLATE

1шт.

76

155950A1

BALL

2шт.

77

NSS

NOT SOLD SEPARAT

2шт.

78

LB00546

BEARING,50mm ID x 90mm OD x 20mm W

1шт.

79

LB00547

BEARING,35mm ID x 72mm OD x 17mm W

1шт.

80

155578A1

PIN

COTTER PIN

1шт.

81

862-14035

HEX SOC SCREW,M14 x 35mm, Cl 12.9

10шт.

82

LE00779

OIL SEAL

1шт.

83

LR00582

PLATE

3шт.

84

165696A1

PLATE

2шт.

85

LJ00746

PISTON

1шт.

86

165720A1

OIL SEAL

1шт.

87

165721A1

SEALING RING

1шт.

88

156090A1

SPRING

8шт.

89

160097A1

COTTER PIN

4шт.

90

160592A1

SPRING

2шт.

91

160330A1

PORT

1шт.

92

154463A1

O-RING

4шт.

93

155220A1

O-RING

1шт.

LZ00378

SEAL KIT

Incl. 28, 31, 32, 38, 39, 45 - 48, 82, 86, 87, 92, 93, Also Includes Parts on Figure 06-03

1шт.

LZ00380

REPAIR KIT

Incl. 2, 77

1шт.

LZ00381

HYDRAULIC MOTOR

Incl. 4, 55, 59, 60, Also Includes Parts on Figure 06-03

1шт.

Выбрано товаров: 67