Запчасти Case CX240 (08-103) - CONTROL VALVE, COMPONENTS (08) - HYDRAULICS

Схема запчастей Case CX240 - (08-103) - CONTROL VALVE, COMPONENTS (08) - HYDRAULICS
3
9
30
11
66
19
8
101
25
20
28
18
98
23
29
45
8
6
7
30
24
8
4
5
31
17
7
22
99
97
27
102
11
100
32
11
1
21
10
65
2
97
44
26
FIT
1:1
100%

Артикул

Название

Примечание

Количество

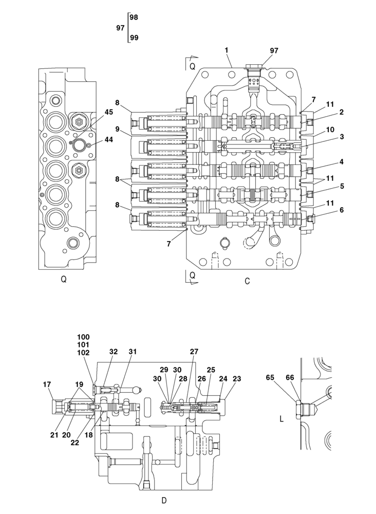
1

NSS

NOT SOLD SEPARAT

Body

1шт.

2

NSS

NOT SOLD SEPARAT

Spool

1шт.

3

NSS

NOT SOLD SEPARAT

Spool

1шт.

4

NSS

NOT SOLD SEPARAT

Spool

1шт.

5

NSS

NOT SOLD SEPARAT

Spool

1шт.

6

NSS

NOT SOLD SEPARAT

Spool

1шт.

7

154589A1

O-RING

10шт.

8

LR00574

CAP

4шт.

9

LR00575

CAP

1шт.

10

LR00576

CAP

1шт.

11

LR00577

CAP

4шт.

17

LR00578

CAP

1шт.

18

NSS

NOT SOLD SEPARAT

Spool

1шт.

19

163393A1

SPRING SEAT

2шт.

20

LG00338

SPRING

1шт.

21

LPC0222

END FITTING

1шт.

22

154514A1

O-RING

1шт.

23

LK00300

PLUG

1шт.

24

154503A1

O-RING

1шт.

25

LG00339

SPRING

1шт.

LJ01122

VALVE, PRESSURE RELI

EF

1шт.

Consists Of Ref. Numbers 26, 27, 28

1шт.

26

NSS

NOT SOLD SEPARAT

Spool

1шт.

27

NSS

NOT SOLD SEPARAT

Sleeve

1шт.

28

NSS

NOT SOLD SEPARAT

Piston

1шт.

29

154483A1

O-RING

1шт.

30

153967A1

BACK-UP RING

1шт.

31

LJ00726

VALVE POPPET

1шт.

32

LG00340

SPRING

1шт.

44

154447A1

O-RING

1шт.

45

154439A1

O-RING

1шт.

65

LK00305

PLUG

1шт.

66

154475A1

O-RING

1шт.

97

LJ00735

VALVE

1шт.

Consists Of Ref. Numbers 98, 99

1шт.

98

155224A1

O-RING

1шт.

99

154495A1

O-RING

1шт.

100

163369A1

PLUG

1шт.

Consists Of Ref. Numbers 101, 102

1шт.

101

NSS

NOT SOLD SEPARAT

Plug

1шт.

102

154475A1

O-RING

1шт.

Выбрано товаров: 41