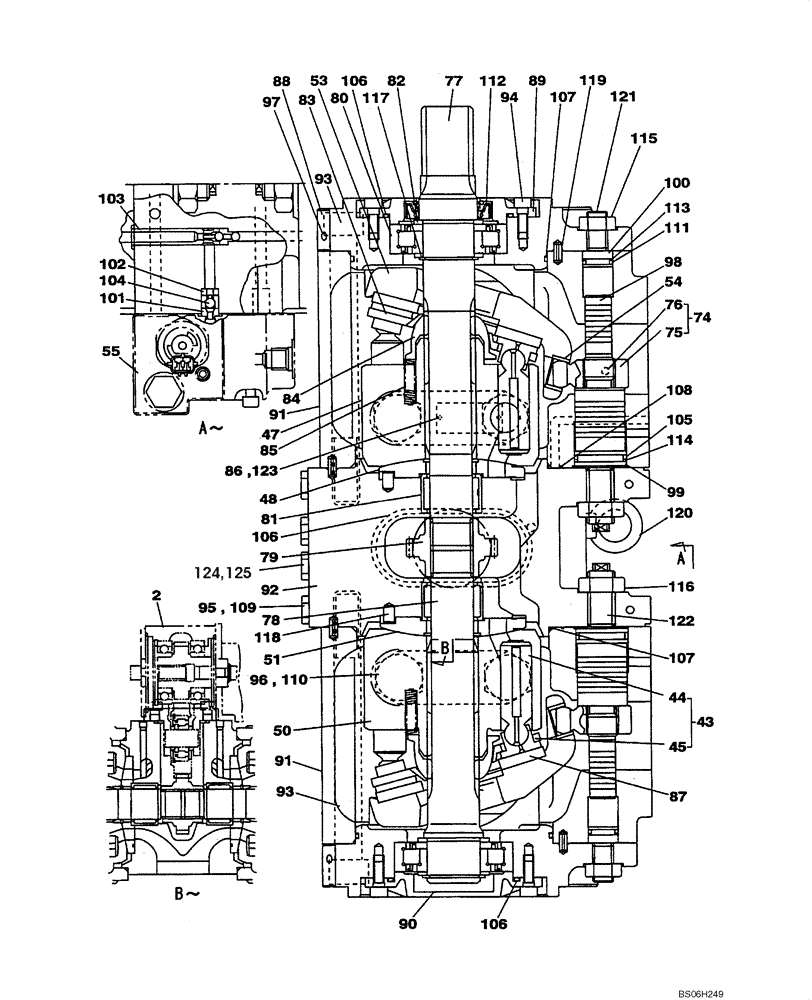
Запчасти Case CX240LR (08-30) - PUMP ASSY, HYDRAULIC - PISTON (Nov 3 2009 8:16AM) (08) - HYDRAULICS

Схема запчастей Case CX240LR - (08-30) - PUMP ASSY, HYDRAULIC - PISTON (Nov 3 2009 8:16AM) (08) - HYDRAULICS
117
43
105
86
91
108
107
93
96
83
74
106
78
95
82
116
115
2
75
84
113
118
106
110
114
100
51
103
102
79
54
98
124
90
122
125
121
97
87
85
50
119
99
92
55
109
76
44
120
94
104
45
106
53
80
112
88
107
111
106
93
89
77
47
101
48
91
123
FIT
1:1
100%

Артикул

Название

Примечание

Количество

1

KBJ2789

PUMP, HYDRAULIC

Includes All Parts On Figures 08-30 - 08-34

1шт.

2

LC00159

HYDRAULIC PUMP

See Figure 08-31

1шт.

43

160154A1

PISTON

Incl. 44, 45

1шт.

44

NSS

NOT SOLD SEPARAT

Piston

1шт.

45

NSS

NOT SOLD SEPARAT

End

1шт.

46

LS00121

CYLINDER BLOCK

Incl. 47, 48

1шт.

47

NSS

NOT SOLD SEPARAT

Block

1шт.

48

NSS

NOT SOLD SEPARAT

Plate

1шт.

49

LS00123

CYLINDER BLOCK

Incl. 50, 51

1шт.

50

NSS

NOT SOLD SEPARAT

Block

1шт.

51

NSS

NOT SOLD SEPARAT

Plate

1шт.

52

LR00552

PLATE

Incl. 53, 54

1шт.

53

NSS

NOT SOLD SEPARAT

Plate

1шт.

54

NSS

NOT SOLD SEPARAT

Bushing

1шт.

55

LW00310

PILOT VALVE

See Figure 08-33

1шт.

74

160161A1

LEVER ASSY.

Incl. 75, 76

2шт.

75

NSS

NOT SOLD SEPARAT

Pin

1шт.

76

NSS

NOT SOLD SEPARAT

Pin, Split

1шт.

77

160033A1

DRIVE SHAFT

1шт.

78

160034A1

DRIVE SHAFT

1шт.

79

LB00535

COUPLING

1шт.

80

NSS

NOT SOLD SEPARAT

Bearing

2шт.

81

NSS

NOT SOLD SEPARAT

Bearing

2шт.

82

156963A1

SPACER

4шт.

83

156959A1

HOLDER

2шт.

84

169288A1

BUSHING

2шт.

85

156960A1

SPRING

18шт.

86

NSS

NOT SOLD SEPARAT

Plate, Registration

1шт.

87

160113A1

PLATE

2шт.

88

TPP0080

SUPPORT

2шт.

89

160334A1

COVER

1шт.

90

LZP0183

COVER

Replaces TZP0003

1шт.

91

160604A1

HOUSING

2шт.

92

TJ00067

VALVE BLOCK

Replaces LJ00694

1шт.

93

167078A1

BOLT,M8 x 40mm, Cl 12.9

M8 x 40; 12,9

8шт.

94

861-8020

HEX SOC SCREW,M8 x 20mm, Cl 12.9

8шт.

95

155496A1

PLUG

2шт.

96

155471A1

PLUG

4шт.

97

LK00003

PLUG

27шт.

98

160212A1

PISTON

2шт.

99

160115A1

STOP

2шт.

100

160116A1

STOP

2шт.

101

TPP0095

VALVE SEAT

4шт.

102

TPP0094

STOP

2шт.

103

NSS

NOT SOLD SEPARAT

Stopper

1шт.

104

156966A1

BALL

4шт.

105

LE01176

O-RING

2шт.

106

154713A1

O-RING

3шт.

107

154805A1

O-RING

4шт.

108

154455A1

O-RING

16шт.

109

154467A1

O-RING,10.8mm ID x 2.4mm Width

6шт.

110

154503A1

O-RING

4шт.

111

LE01177

O-RING

2шт.

112

LE01178

OIL SEAL

1шт.

113

153970A1

BACK-UP RING

2шт.

114

154017A1

BACK-UP RING

2шт.

115

829-1416

NUT,M16, Cl 10

2шт.

116

162R020VR

NUT

M20; 10

2шт.

117

800-1140

SNAP RING,M40, Ext

2шт.

118

156954A1

DOWEL

2шт.

119

338W060Z014B

LINCH PIN

4шт.

120

126R010SR

EYEBOLT

BOLT, EYE

2шт.

121

160295A1

SET SCREW

2шт.

122

160296A1

SET SCREW

2шт.

123

LA00027

RIVET

2шт.

124

TLM0023

PLUG

2шт.

125

154475A1

O-RING

2шт.

Выбрано товаров: 67