Запчасти Case CX240LR (08-39) - HYDRAULICS - JOINT, SWIVEL CENTER, - P.I.N. DAC0724306 (08) - HYDRAULICS

Схема запчастей Case CX240LR - (08-39) - HYDRAULICS - JOINT, SWIVEL CENTER, - P.I.N. DAC0724306 (08) - HYDRAULICS
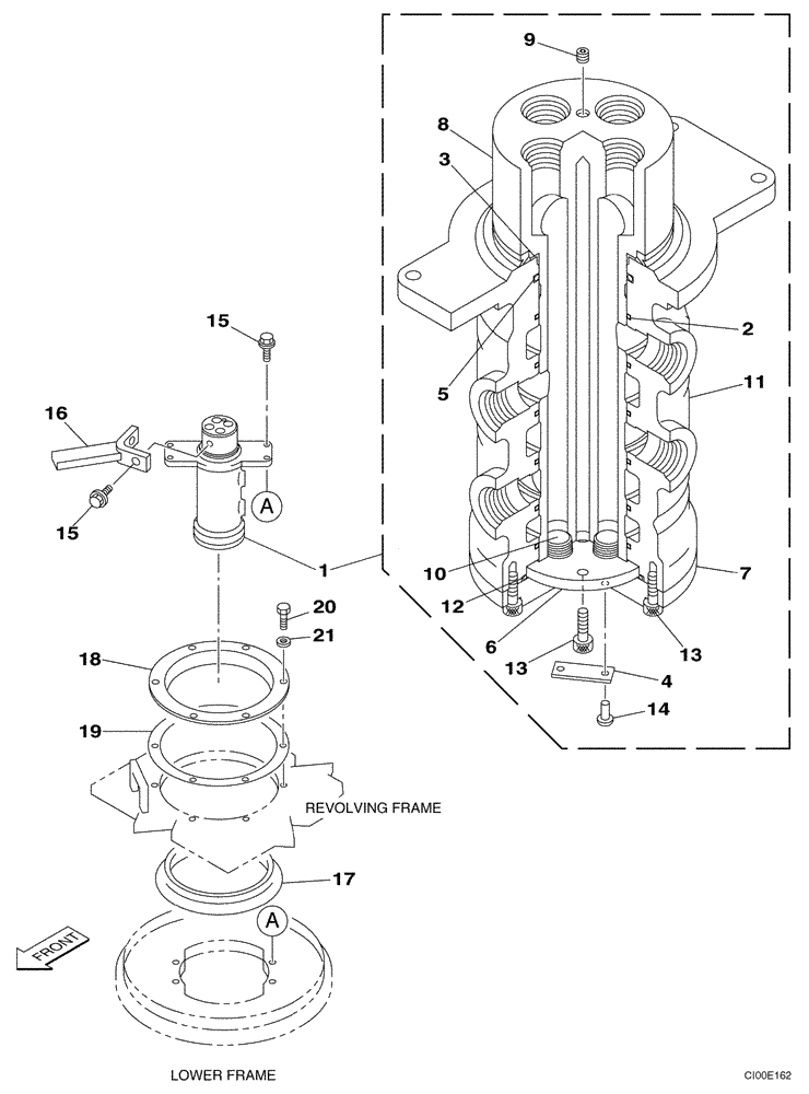
10
11
17
16
14
21
6
1
2
13
7
9
13
3
20
5
18
4
15
8
15
19
12
FIT
1:1
100%

Артикул

Название

Примечание

Количество

1

169310A1

JOINT TURNING

Incl. 2 - 14; No Longer Available, For Service Order KRA1875, See Figure 08-39A

1шт.

2

168295A1

SEALING RING,80mm ID x 90mm OD x 4.8mm Thk

SEALRING

6шт.

3

151814A1

SEAL,72mm ID x 84mm OD x 11mm Thk

1шт.

4

NSS

NOT SOLD SEPARAT

Plate, Registration

1шт.

5

KHA10130

O-RING

Replaces 154688A1

1шт.

6

159662A1

PLATE, THRUST

1шт.

7

159663A1

COVER

1шт.

8

KRA1487

ROTOR

Incl. 9, 10

1шт.

9

150821A1

PLUG

1шт.

10

150829A1

PLUG

4шт.

11

159682A1

ROTOR

1шт.

12

154721A1

O-RING,99.4mm ID x 3.1mm Width

1шт.

13

862-8025

HEX SOC SCREW,M8 x 25mm, Cl 12.9

8шт.

14

NSS

NOT SOLD SEPARAT

Rivet

2шт.

15

166352A1

BOLT

6шт.

16

KLA0169

LOCKING BAR

; Replaces 159664A1

1шт.

17

159665A1

SEALING RING

1шт.

18

159666A1

RETAINER

1шт.

19

159667A1

RUBBER SEAL

1шт.

20

627-12030

BOLT,Hex, M12 x 1.75 x 30mm, Cl 10.9, Full Thd

6шт.

21

161498A1

SEALING WASHER

6шт.

Выбрано товаров: 21