Запчасти Case CX240LR (08-39A) - HYDRAULICS - JOINT, SWIVEL CENTER, P.I.N. DAC0724307 - (08) - HYDRAULICS

Схема запчастей Case CX240LR - (08-39A) - HYDRAULICS - JOINT, SWIVEL CENTER, P.I.N. DAC0724307 - (08) - HYDRAULICS
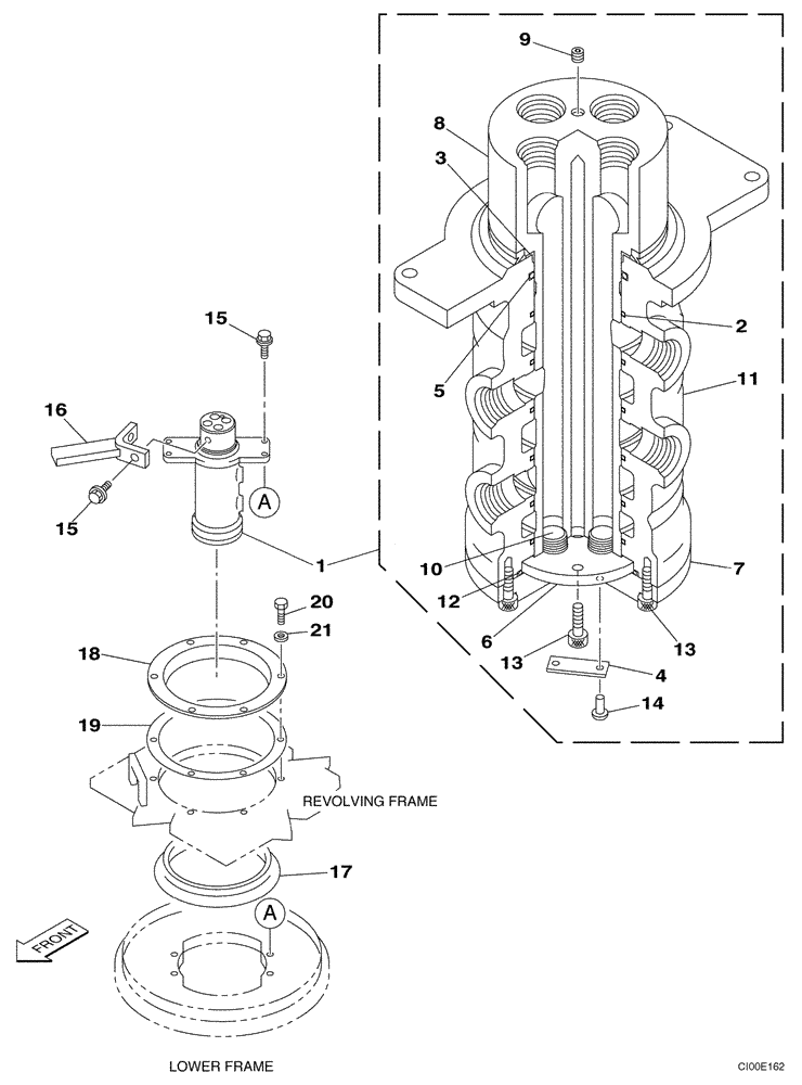
9
5
13
2
11
8
20
21
10
19
12
3
18
6
17
16
4
7
15
1
15
14
13
FIT
1:1
100%

Артикул

Название

Примечание

Количество

1

KRA1875

JOINT TURNING

Incl. 2 - 14

1шт.

2

168295A1

SEALING RING,80mm ID x 90mm OD x 4.8mm Thk

SEALRING

6шт.

3

151814A1

SEAL,72mm ID x 84mm OD x 11mm Thk

1шт.

4

NSS

NOT SOLD SEPARAT

Plate, Registration

1шт.

5

KHA10130

O-RING

Replaces 154688A1

1шт.

6

159662A1

PLATE, THRUST

1шт.

7

KRA1874

COVER

1шт.

8

KRA1873

HOUSING

1шт.

9

150821A1

PLUG

1шт.

10

150829A1

PLUG

4шт.

11

KRA1872

ROTOR

1шт.

12

154721A1

O-RING,99.4mm ID x 3.1mm Width

1шт.

13

108R008Y025N

BOLT

8шт.

14

NSS

NOT SOLD SEPARAT

Rivet

2шт.

15

166352A1

BOLT

6шт.

16

KMA1348

LOCKING BAR

1шт.

17

159665A1

SEALING RING

1шт.

18

159666A1

RETAINER

1шт.

19

159667A1

RUBBER SEAL

1шт.

20

627-12030

BOLT,Hex, M12 x 1.75 x 30mm, Cl 10.9, Full Thd

6шт.

21

161498A1

SEALING WASHER

6шт.

Выбрано товаров: 21