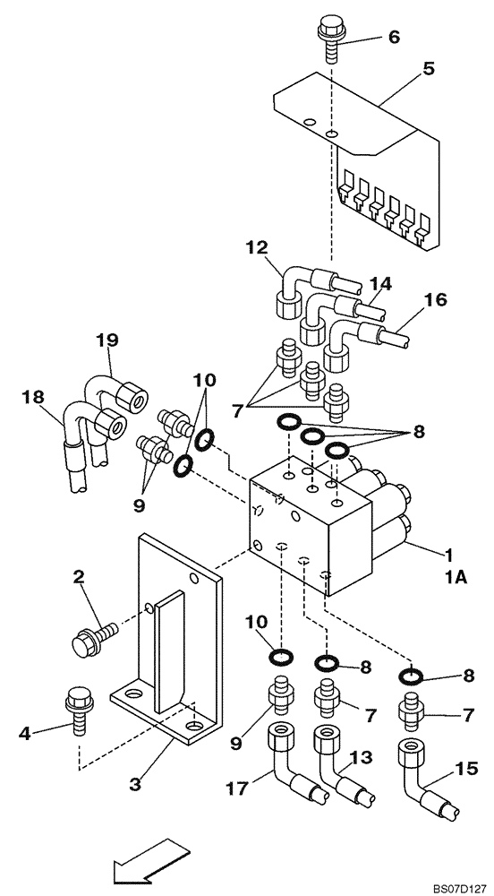
Запчасти Case CX290 (08-42) - VALVE, SOLENOID - PILOT PRESSURE, RETURN LINES (08) - HYDRAULICS

Схема запчастей Case CX290 - (08-42) - VALVE, SOLENOID - PILOT PRESSURE, RETURN LINES (08) - HYDRAULICS
16
9
10
5
18
13
15
8
9
12
7
7
10
17
6
2
8
7
8
14
4
3
19
1
1a
FIT
1:1
100%

Артикул

Название

Примечание

Количество

1

KHJ1972

SOLENOID VALVE

See Figures 08-41, 08-80; No Longer Available, Order KHJ15460

1шт.

1a

KHJ15460

SOLENOID VALVE

See Figures 08-41, 08-80A

1шт.

2

627-10020

BOLT,Hex, M10 x 1.5 x 20mm, Cl 10.9, Full Thd

2шт.

896-11010

WASHER,11mm ID x 21mm OD x 2.5mm Thk

2шт.

3

KHJ1582

BRACKET

1шт.

4

152718A1

BOLT,Spcl, Hex Wshr, M12 x 25mm, Cl 10.9

2шт.

5

KHJ1581

COVER

1шт.

6

156559A1

BOLT,High Strength, Hex, M6 x 12mm, W/ LW

2шт.

7

152127A1

HYD CONNECTOR,1/4" NPT O-Ring x 1/4" NPT

Incl. 8

5шт.

8

154467A1

O-RING,10.8mm ID x 2.4mm Width

1шт.

9

152128A1

HYD CONNECTOR,3/8" NPT O-Ring x 3/8" NPT

Incl. 10

3шт.

10

154475A1

O-RING

1шт.

12

165392A1

HYDRAULIC HOSE

See Figure 08-45

1шт.

13

161486A1

HOSE ASSY.

See Figure 08-45

1шт.

14

161657A1

HOSE ASSY.

1600 mm (63 in), See Figure 08-45

1шт.

15

161494A1

HOSE ASSY.

See Figure 08-45

1шт.

16

166180A1

HYDRAULIC HOSE

See Figure 08-45

1шт.

17

161175A1

HOSE ASSY.

See Figure 08-44

1шт.

18

KHJ1460

HYDRAULIC HOSE

See Figure 08-43

1шт.

19

161647A1

HOSE

See Figure 08-45

1шт.

Выбрано товаров: 20