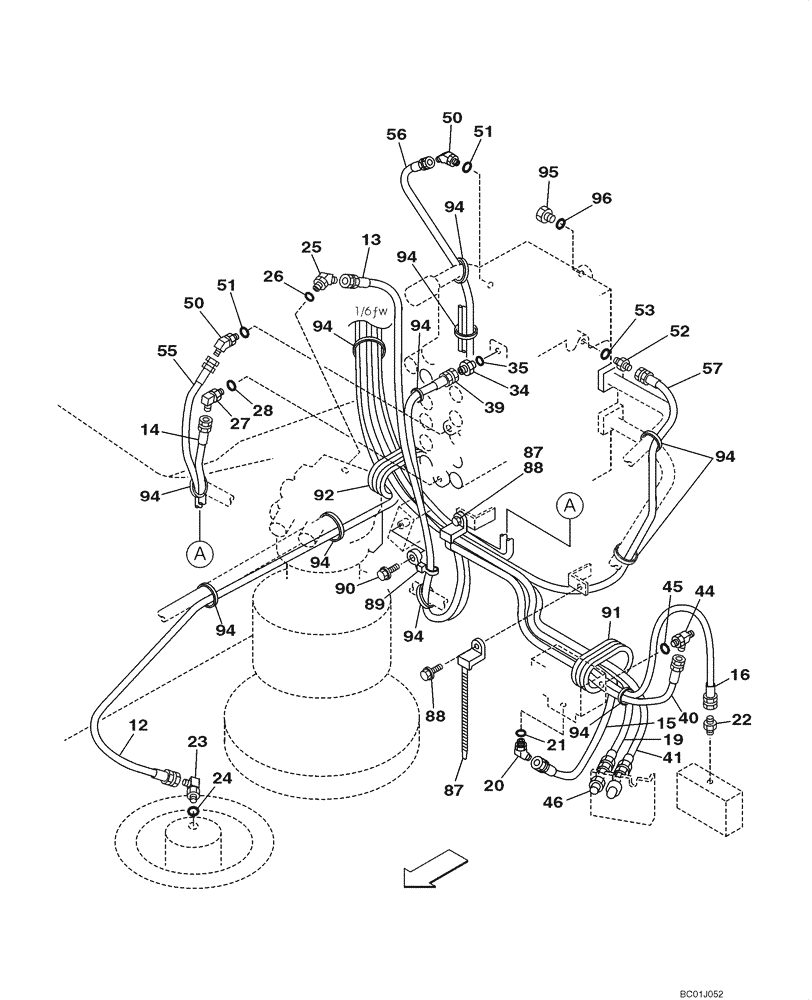
Запчасти Case CX290 (08-45) - HYDRAULICS - PILOT PRESSURE, RETURN LINES (08) - HYDRAULICS

Схема запчастей Case CX290 - (08-45) - HYDRAULICS - PILOT PRESSURE, RETURN LINES (08) - HYDRAULICS
94
21
51
52
41
44
94
87
56
23
94
88
46
27
88
91
57
22
92
90
50
50
94
34
35
24
13
94
12
94
94
19
51
28
14
45
25
94
53
40
16
20
94
39
89
94
96
15
95
87
26
55
FIT
1:1
100%

Артикул

Название

Примечание

Количество

12

165392A1

HYDRAULIC HOSE

See Figure 08-42

1шт.

13

161486A1

HOSE ASSY.

See Figure 08-42

1шт.

14

161657A1

HOSE ASSY.

1600 mm (63 in), See Figure 08-42

1шт.

15

161494A1

HOSE ASSY.

See Figure 08-42

1шт.

16

166180A1

HYDRAULIC HOSE

See Figure 08-42

1шт.

19

161647A1

HOSE

See Figure 08-42

1шт.

20

150933A1

ELBOW

Incl. 21

1шт.

21

154467A1

O-RING,10.8mm ID x 2.4mm Width

1шт.

22

KHJ1291

ORIFICE

1шт.

23

150913A1

ELBOW,90 Degree, 1/4" O-Ring x 1/4"

Incl. 24

1шт.

24

154467A1

O-RING,10.8mm ID x 2.4mm Width

1шт.

25

150933A1

ELBOW

Incl. 26

1шт.

26

154467A1

O-RING,10.8mm ID x 2.4mm Width

1шт.

27

150913A1

ELBOW,90 Degree, 1/4" O-Ring x 1/4"

Incl. 28

1шт.

28

154467A1

O-RING,10.8mm ID x 2.4mm Width

1шт.

34

152127A1

HYD CONNECTOR,1/4" NPT O-Ring x 1/4" NPT

Incl. 35

1шт.

35

154467A1

O-RING,10.8mm ID x 2.4mm Width

1шт.

39

152773A1

HOSE ASSY.

See Figure 08-43

1шт.

40

152773A1

HOSE ASSY.

See Figure 08-43

1шт.

41

152713A1

HOSE ASSY.

See Figure 08-43

1шт.

44

159497A1

TEE

Incl. 45

1шт.

45

154467A1

O-RING,10.8mm ID x 2.4mm Width

1шт.

46

162826A1

ADAPTER

1шт.

50

150933A1

ELBOW

Incl. 51

2шт.

51

154467A1

O-RING,10.8mm ID x 2.4mm Width

1шт.

52

152127A1

HYD CONNECTOR,1/4" NPT O-Ring x 1/4" NPT

Incl. 53

1шт.

53

154467A1

O-RING,10.8mm ID x 2.4mm Width

1шт.

55

157203A1

HOSE,2800.00 mm

2800 mm (110-1/4 in), See Figure 08-44

1шт.

56

152604A1

HOSE,63.00 mm ID x 1600.00 mm

See Figure 08-41

1шт.

57

157851A1

HOSE

2850 mm (112-1/4 in), See Figure 08-41

1шт.

87

KHR2582

CLAMP

2шт.

88

KHJ2298

BOLT,Spcl

2шт.

89

KHR2583

CLAMP

1шт.

90

159906A1

BOLT,Sems, Hex, M6 x 20mm, Spcl

1шт.

91

KRH1393

GROMMET

1шт.

92

152286A1

RUBBER BLOCK

1шт.

94

150071A1

MOUNTING CLIP

1шт.

95

159002A1

PLUG

Incl. 96

1шт.

96

154467A1

O-RING,10.8mm ID x 2.4mm Width

1шт.

Выбрано товаров: 39