Запчасти Case CX290 (08-53) - MANIFOLD - DOUBLE ACTING CIRCUIT/THUMB (08) - HYDRAULICS

Схема запчастей Case CX290 - (08-53) - MANIFOLD - DOUBLE ACTING CIRCUIT/THUMB (08) - HYDRAULICS
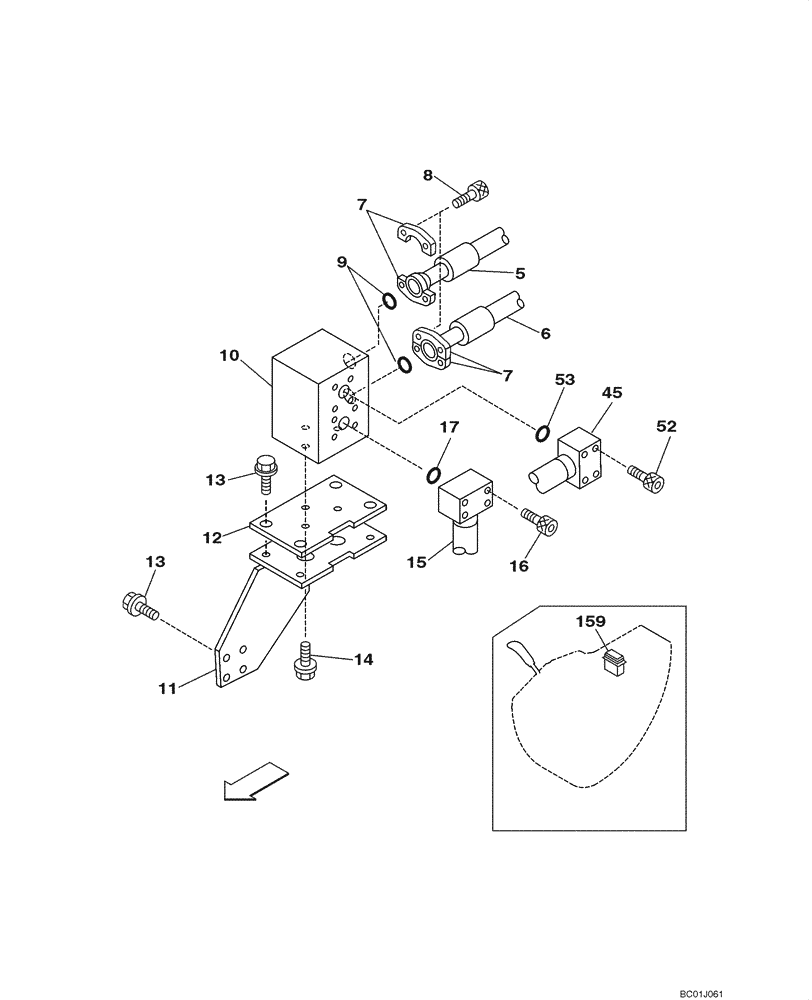
8
7
13
53
15
10
5
6
14
52
45
13
12
17
9
16
159
11
7
FIT
1:1
100%

Артикул

Название

Примечание

Количество

5

KRJ5926

HYDRAULIC HOSE,25.40 mm ID x 725.00 mm

See Figure 08-52

1шт.

6

KRJ5927

HYDRAULIC HOSE,25.40 mm ID x 575.00 mm

See Figure 08-52

1шт.

7

153459A1

FLANGE

Split

4шт.

8

862-10030

HEX SOC SCREW,M10 x 30mm, Cl 12.9

8шт.

9

155211A1

O-RING

2шт.

10

KHJ1857

MANIFOLD

See Figure 08-52

1шт.

11

KRJ6171

BRACKET

1шт.

12

KRJ6172

BRACKET

1шт.

13

627-12030

BOLT,Hex, M12 x 1.75 x 30mm, Cl 10.9, Full Thd

8шт.

896-11012

WASHER,13.5mm ID x 24mm OD x 3mm Thk

8шт.

14

627-10025

BOLT,Hex, M10 x 1.5 x 25mm, Cl 10.9, Full Thd

3шт.

896-11010

WASHER,11mm ID x 21mm OD x 2.5mm Thk

3шт.

15

KRJ6173

TUBE ASSY.,26 mm ID x 34 mm OD

1шт.

16

862-10065

HEX SOC SCREW,M10 x 65mm, Cl 12.9

4шт.

17

154548A1

O-RING

1шт.

45

KRJ6176

TUBE ASSY.,26 mm ID x 34 mm OD

1шт.

52

862-10065

HEX SOC SCREW,M10 x 65mm, Cl 12.9

4шт.

53

154548A1

O-RING

1шт.

159

KHR3129

SWITCH

Console Box, Left Hand Side

1шт.

Выбрано товаров: 19