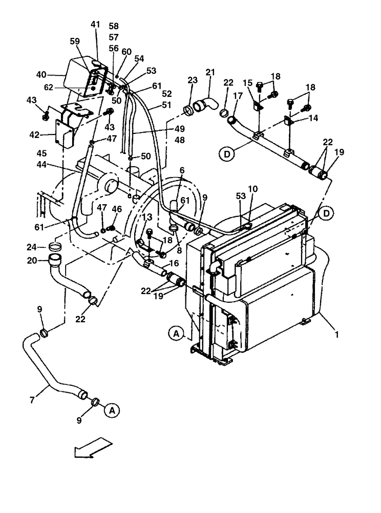
Запчасти Case CX290 (02-05) - RADIATOR AND CONNECTIONS - RESERVOIR (02) - ENGINE

Схема запчастей Case CX290 - (02-05) - RADIATOR AND CONNECTIONS - RESERVOIR (02) - ENGINE
FIT
1:1
100%

Артикул

Название

Примечание

Количество

1

KBH0885

RADIATOR

Not Serviced As An Assembly, See Figure 02-06

1шт.

6

KBH0937

RADIATOR HOSE

Upper

1шт.

7

KBH0938

RADIATOR HOSE

Lower

1шт.

8

165793A1

COLLAR

1шт.

9

165794A1

COLLAR

3шт.

10

KHP1656

DECAL

1шт.

13

KBH0913

BRACKET

1шт.

14

KBH0914

BRACKET

1шт.

15

KBH0915

BRACKET

1шт.

16

KBH0941

PIPE

Air Inlet

1шт.

17

KBH0942

PIPE

Air Inlet

1шт.

18

152718A1

BOLT,Spcl, Hex Wshr, M12 x 25mm, Cl 10.9

6шт.

19

KRH1401

RADIATOR HOSE

2шт.

20

KBH0939

RADIATOR HOSE

1шт.

21

KBH0940

RADIATOR HOSE

1шт.

22

164968A1

COLLAR

6шт.

23

KHH0411

COLLAR

1шт.

24

KHH0412

COLLAR

1шт.

40

KBH0960

TANK

Incl. 41

1шт.

41

KBH0963

CAP

1шт.

42

KBH0964

BRACKET

1шт.

43

152718A1

BOLT,Spcl, Hex Wshr, M12 x 25mm, Cl 10.9

7шт.

44

KRH1457

HOSE

1шт.

45

166124A1

PLASTIC-RUBBER TUBE

1шт.

46

KRH1433

JOINT

1шт.

47

157915A1

CLAMP

2шт.

48

KBH0900

HOSE

1шт.

49

158061A1

PLASTIC-RUBBER TUBE

1шт.

50

157913A1

CLAMP

2шт.

51

KRH1444

HOSE

1шт.

52

150774A1

PLASTIC-RUBBER TUBE

1шт.

53

157913A1

CLAMP

2шт.

54

157487A1

HOSE,7 mm ID x 1600.00 mm

1600 mm (63 in)

1шт.

KHH0496

SIGHTGLASS

Incl. 56 - 58

1шт.

56

KHH0497

GAUGE

1шт.

57

159492A1

BOLT

2шт.

58

159493A1

SEALING WASHER

SEAL WASHER

4шт.

59

KHP1602

DECAL

1шт.

60

150067A1

MOUNTING CLIP

150 mm (6 in)

1шт.

61

150496A1

MOUNTING CLIP

250 mm (10 in)

3шт.

62

442300A1

SWITCH

Low Coolant Level

1шт.

Выбрано товаров: 41