Запчасти Case CX290 (08-66) - MOUNTING - SWING MOTOR (08) - HYDRAULICS

Схема запчастей Case CX290 - (08-66) - MOUNTING - SWING MOTOR (08) - HYDRAULICS
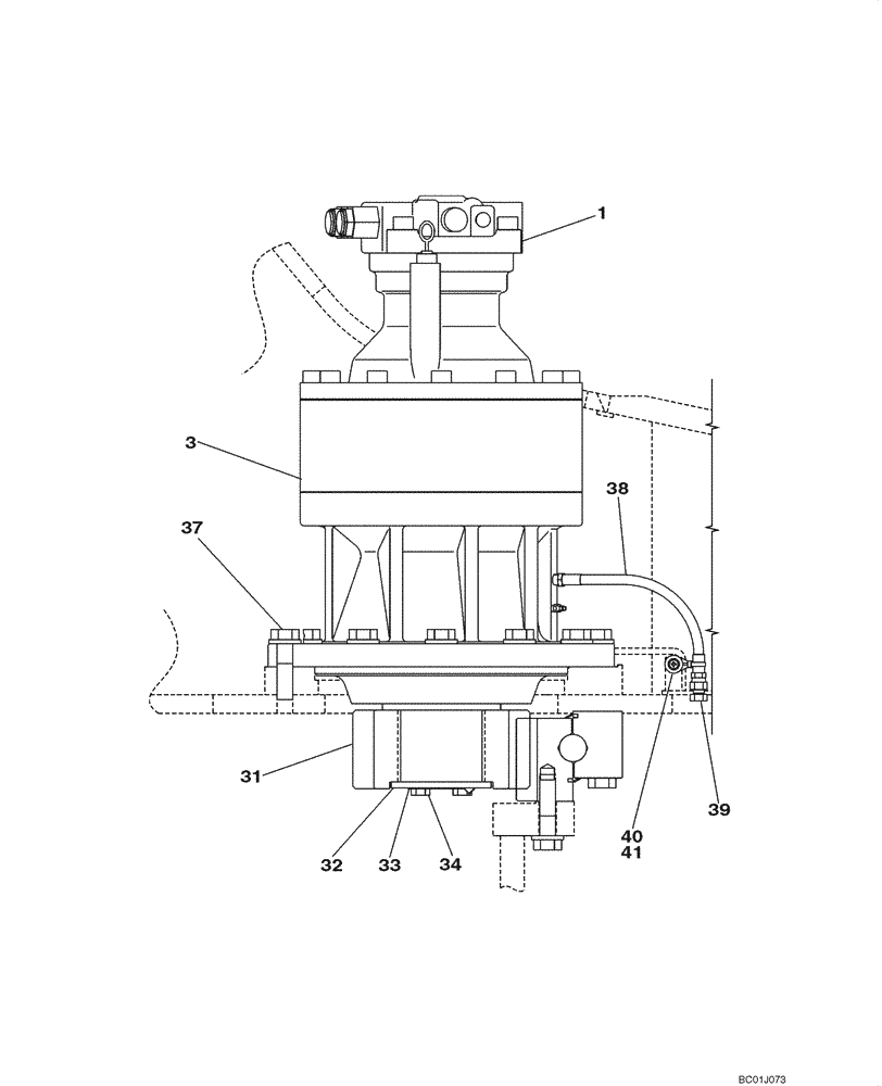
1
37
39
40
34
38
31
41
33
32
3
FIT
1:1
100%

Артикул

Название

Примечание

Количество

1

KBC0121

MOTOR, HYDRAULIC

Swing, See Figure 08-66A; No Longer Available, Order KBC0155

1шт.

1a

KBC0155

HYDRAULIC MOTOR

Swing, Component Parts Not Available, REFERENCE ONLY - STD DCH29B0241 / NARROW DCH29B0240 / DAC0729186 ...AND AFTER

1шт.

1b

KBC10130

HYDRAULIC MOTOR

Swing

1шт.

1b

LJ016070R

REMAN-HYD MOTOR

CX290 CASE CRAWLER EXCAVATOR (NORTH AMERICA), Swing, Reman for New PN KBC10130

1шт.

1b

LJ016070C

CORE-MOTOR HYDRAULIC

Return Number

1шт.

3

KSC0235

REDUCER

Transmission, See Figure 08-67

1шт.

3

KSC10250R

REMAN-REDUCTION UNIT

CX290 CASE CRAWLER EXCAVATOR (NORTH AMERICA), Reman for New PN KSC0235

1шт.

3

KSC10250C

CORE-REDUCTION UNIT

Return Number

1шт.

31

KBC0124

GEAR

Pinion

1шт.

32

150285A1

PLATE, LOCKING

1шт.

33

167069A1

WASHER

1шт.

34

627-16040

BOLT,Hex, M16 x 2 x 40mm, Cl 10.9, Full Thd

2шт.

35

153630A1

LUBE NIPPLE

1шт.

36

150317A1

HEADED PIN,24mm OD x 90mm L

1шт.

37

166477A1

BOLT,Sems, M24 x 90mm

With Attached Washer

12шт.

38

KTJ0315

HYDRAULIC HOSE,9.52 mm ID x 350.00 mm

1шт.

39

KHP0501

PLUG

1шт.

40

KHR2584

CLAMP

1шт.

41

KHJ1215

BOLT,Spcl

1шт.

Выбрано товаров: 19