Запчасти Case CX290 (08-69C) - VALVE ASSY - CONTROL (08) - HYDRAULICS

Схема запчастей Case CX290 - (08-69C) - VALVE ASSY - CONTROL (08) - HYDRAULICS
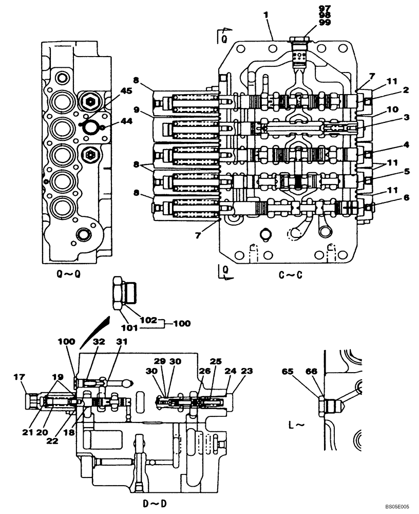
44
1
7
100
8
11
19
17
4
100
24
102
30
23
11
8
10
29
2
65
101
8
18
21
31
97
30
5
22
66
26
45
99
7
98
11
3
9
32
6
20
25
FIT
1:1
100%

Артикул

Название

Примечание

Количество

KBJ3023

VALVE, CONTROL

Includes All Parts on Figure 08-69A - 08-69E

1шт.

1

NSS

NOT SOLD SEPARAT

Housing, Valve

1шт.

2

NSS

NOT SOLD SEPARAT

Spool, Valve

1шт.

3

NSS

NOT SOLD SEPARAT

Spool, Valve

1шт.

4

NSS

NOT SOLD SEPARAT

Spool, Valve

1шт.

5

NSS

NOT SOLD SEPARAT

Spool, Valve

1шт.

6

NSS

NOT SOLD SEPARAT

Spool, Valve

1шт.

7

154589A1

O-RING

10шт.

8

LR00574

CAP

4шт.

9

LR00575

CAP

1шт.

10

LR00576

CAP

1шт.

11

LR00577

CAP

4шт.

17

LR00578

CAP

1шт.

18

NSS

NOT SOLD SEPARAT

Spool, Valve

1шт.

19

163393A1

SPRING SEAT

2шт.

20

LG00338

SPRING

Compression

1шт.

21

LPC0222

END FITTING

1шт.

22

154514A1

O-RING

1шт.

23

LK00300

PLUG

1шт.

24

154503A1

O-RING

1шт.

25

LG00339

SPRING

Compression

1шт.

26

LJ01122

VALVE, PRESSURE RELI

EF Spool

1шт.

29

154483A1

O-RING

1шт.

30

153967A1

BACK-UP RING

2шт.

31

LJ00726

VALVE POPPET

1шт.

32

LG00340

SPRING

1шт.

44

154447A1

O-RING

1шт.

45

154439A1

O-RING

1шт.

65

LK00305

PLUG

1шт.

66

154475A1

O-RING

1шт.

97

LJ00735

VALVE

Incl. 98, 99

1шт.

98

155224A1

O-RING

1шт.

99

154495A1

O-RING

1шт.

100

163369A1

PLUG

Incl. 101, 102

1шт.

101

LK00195

PLUG

1шт.

102

154475A1

O-RING

1шт.

Выбрано товаров: 36