Запчасти Case CX290 (08-85) - CYLINDER ASSY, BOOM, LEFT HAND - MODELS WITHOUT LOAD HOLD (08) - HYDRAULICS

Схема запчастей Case CX290 - (08-85) - CYLINDER ASSY, BOOM, LEFT HAND - MODELS WITHOUT LOAD HOLD (08) - HYDRAULICS
39
23
34
15
12
25
16
43
19
28
32
35
5
8
42
35
33
36
2
10
34
35
46
31
38
41
30
27
22
46
29
6
35
37
20
13
24
40
14
26
21
9
29
11
3
18
17
45
44
FIT
1:1
100%

Артикул

Название

Примечание

Количество

Left Hand

1шт.

Models Without Load Hold

1шт.

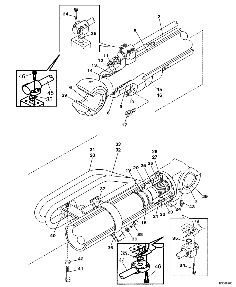
KBV1689

HYDRAULIC CYLINDER

Boom, Incl. 2 - 43

1шт.

LR00845

HYD CYL SLEEVE

Incl. 2, 3

1шт.

2

NSS

NOT SOLD SEPARAT

Tube, Cylinder

1шт.

3

LB00782

BUSHING

1шт.

LB00783

PISTON ROD

Incl. 5, 6

1шт.

5

NSS

NOT SOLD SEPARAT

Rod, Piston

1шт.

6

LB00782

BUSHING

1шт.

8

LU00108

CYLINDER END CAP

1шт.

9

155418A1

BUSHING

1шт.

10

155706A1

RING, SNAP

RING SNAP

1шт.

11

LE00765

SCRAPER RING

1шт.

12

LE00198

O-RING

U-Cup

1шт.

13

LE00695

BACK-UP RING

1шт.

14

158377A1

WIPER SEAL

1шт.

15

154777A1

O-RING

1шт.

16

159994A1

BACK-UP RING

1шт.

17

166094A1

BOLT,Hex Skt, M18 x 80mm

M18 x 80

12шт.

18

LE00696

RING

Cushion

1шт.

19

LE00990

SEAL

Cushion

1шт.

20

LJ00952

JACK PISTON

1шт.

21

159961A1

SEALING RING

SEALRING

1шт.

22

159995A1

BACK-UP RING

2шт.

23

LE00698

RING

Slide

2шт.

24

160016A1

RING

Slide

2шт.

25

155722A1

SHIM

1шт.

26

LA00736

SPECIAL NUT

1шт.

27

156223A1

SET SCREW

1шт.

28

155977A1

BALL

1шт.

29

LE00951

WIPER SEAL

4шт.

30

LR00849

HYD TUBE

Incl. 31; No Longer Available, For Service Order LR01186 And 87016471, Ref 44, 46

1шт.

31

154503A1

O-RING

1шт.

32

LR00850

PIPE

Incl. 33; No Longer Available, For Service Order LR01187 And 87016471, Ref 45, 46

1шт.

33

154503A1

O-RING

1шт.

34

108R010Z050N

BOLT

M10 x 50; 12.9; Used With LR00849 And LR00850, Ref 30, 32

8шт.

35

154528A1

O-RING

2шт.

36

LD00089

CLAMP BRACKET

1шт.

37

160339A1

MOUNTING CLIP

1шт.

38

158131A1

BOLT,High Strength, M10 x 1.5 x 35mm, Cl 10.9

2шт.

39

156227A1

WASHER

2шт.

40

155701A1

COLLAR

2шт.

41

153910A1

BOLT,High Strength, Hex, M14 x 80mm

1шт.

42

892-16014

LOCK WASHER,M14, Hvy

1шт.

43

153630A1

LUBE NIPPLE

1шт.

44

LR01186

HYD TUBE

1шт.

45

LR01187

HYD TUBE

1шт.

46

87016471

HEX SOC SCREW,M10 x 30mm, Cl 12.9

8шт.

LZ00499

SEAL KIT

Incl. 10 - 16, 21 - 25

1шт.

Выбрано товаров: 49