Качественные детали и логистика
Оригинальные и аналоговые запчасти с доставкой по России, Казахстану и Беларуси
©2022 PartSell ООО "Система" ИНН 2463123282 ОГРН 1212400004838
Центральный офис: г. Красноярск, Академика Киренского, д.87, пом.4
Телефон: 8 (800) 777-65-74 Email: zakaz@partsell.ru
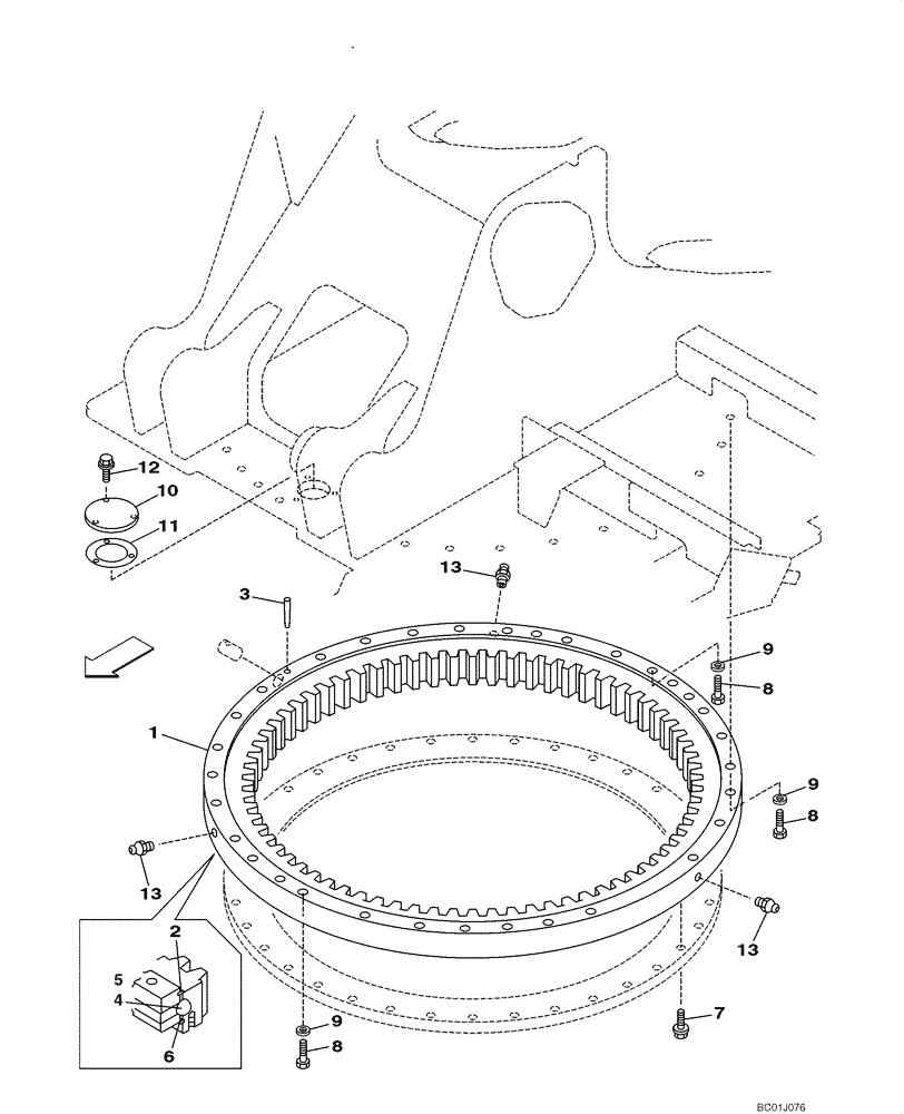
(09-01) - TURNTABLE BEARING
№
Артикул
Название
Примечание
Количество
1
KBB0816
CROWN WHEEL
Incl. 2 - 6
1шт.
2
KSB0852
SEALING RING
3
162549A1
LINCH PIN
4
162550A1
BEARING, BALL,41.27mm OD
93шт.
5
162551A1
SPACER
6
KSB0853
7
166477A1
BOLT,Sems, M24 x 90mm
With Attached Washer
43шт.
8
827-24140
BOLT,Hex, M24 x 3 x 140mm, Cl 10.9
32шт.
9
150822A1
WASHER,25mm ID x 48mm OD x 6mm Thk
10
158929A1
LID
11
158930A1
CORK SEAL
12
152718A1
BOLT,Spcl, Hex Wshr, M12 x 25mm, Cl 10.9
3шт.
13
153630A1
LUBE NIPPLE
Выбрано товаров: 0