Запчасти Case CX290 (09-03) - TURNTABLE - ACCESS COVERS (09) - CHASSIS

Схема запчастей Case CX290 - (09-03) - TURNTABLE - ACCESS COVERS (09) - CHASSIS
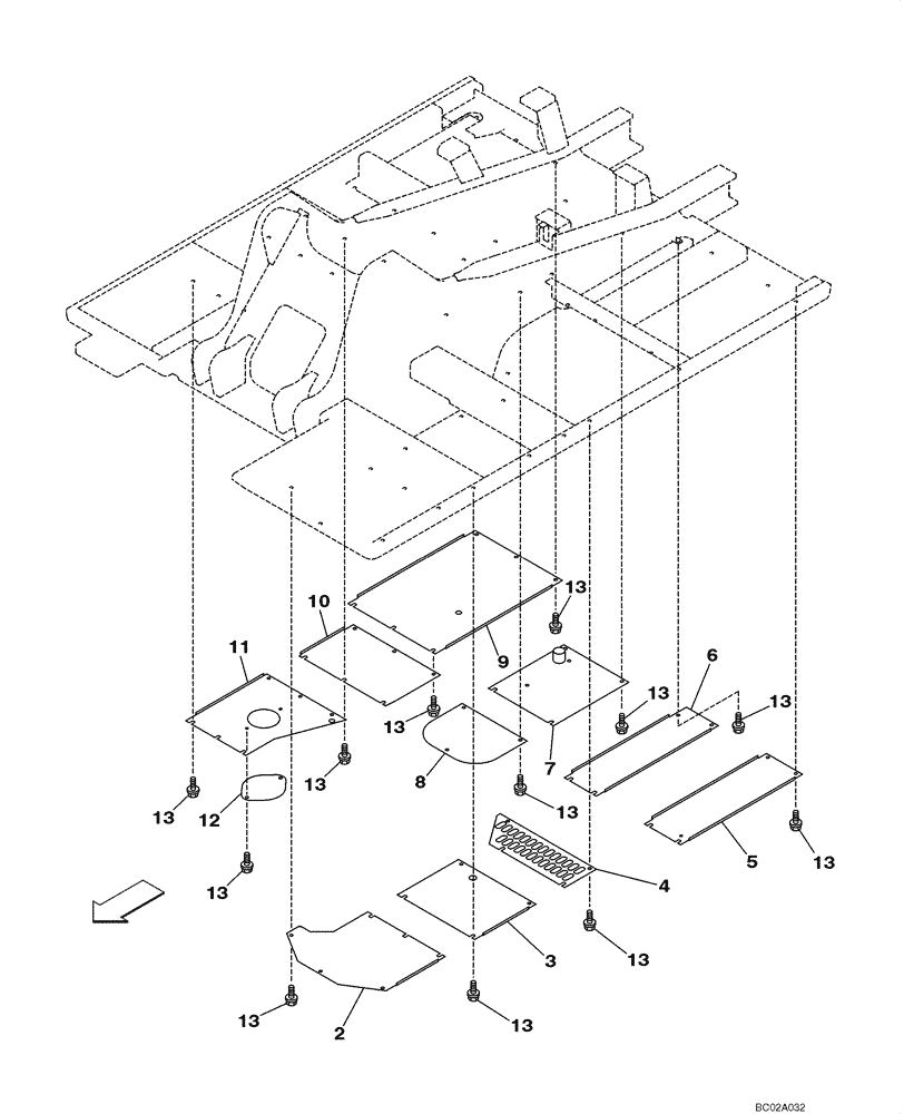
13
13
7
13
13
10
13
9
13
13
3
13
13
6
5
13
13
4
11
12
13
8
2
FIT
1:1
100%

Артикул

Название

Примечание

Количество

2

KBB0843

END PLATE

1шт.

3

KBB0844

END PLATE

1шт.

4

KBB0845

END PLATE

1шт.

5

KBB0846

END PLATE

1шт.

6

KBB0847

END PLATE

1шт.

7

KRB1522

COVER

1шт.

8

KBB0848

END PLATE

1шт.

9

KBB0849

END PLATE

1шт.

10

KRB1365

COVER

1шт.

11

KBB0850

END PLATE

1шт.

12

158950A1

COVER

1шт.

13

158919A1

CAPTIVE WASHER SCREW,Hex Wshr Hd, M12 x 1.75 x 35mm, Cl 10.9, Spcl

46шт.

Выбрано товаров: 12