Качественные детали и логистика
Оригинальные и аналоговые запчасти с доставкой по России, Казахстану и Беларуси
©2022 PartSell ООО "Система" ИНН 2463123282 ОГРН 1212400004838
Центральный офис: г. Красноярск, Академика Киренского, д.87, пом.4
Телефон: 8 (800) 777-65-74 Email: zakaz@partsell.ru
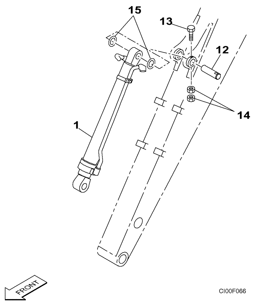
(09-48) - BUCKET CYLINDER - MOUNTING
№
Артикул
Название
Примечание
Количество
1
KBV1790
BUCKET CYLINDER
Bucket, See Figure 08-91
1шт.
12
159738A1
PIN,80mm OD x 273mm L
13
514-1221
BOLT,Hex, M20 x 1.5 x 160mm, Cl 10.9
14
829-11420
NUT,M20 x 1.5, Cl 10
2шт.
15
159741A1
SHIM
Выбрано товаров: 0