Запчасти Case CX290 (03-02B) - WATER SEPARATOR ASSY (P.I.N. DAC 0729101 - DAC291268) (03) - FUEL SYSTEM

Схема запчастей Case CX290 - (03-02B) - WATER SEPARATOR ASSY (P.I.N. DAC 0729101 - DAC291268) (03) - FUEL SYSTEM
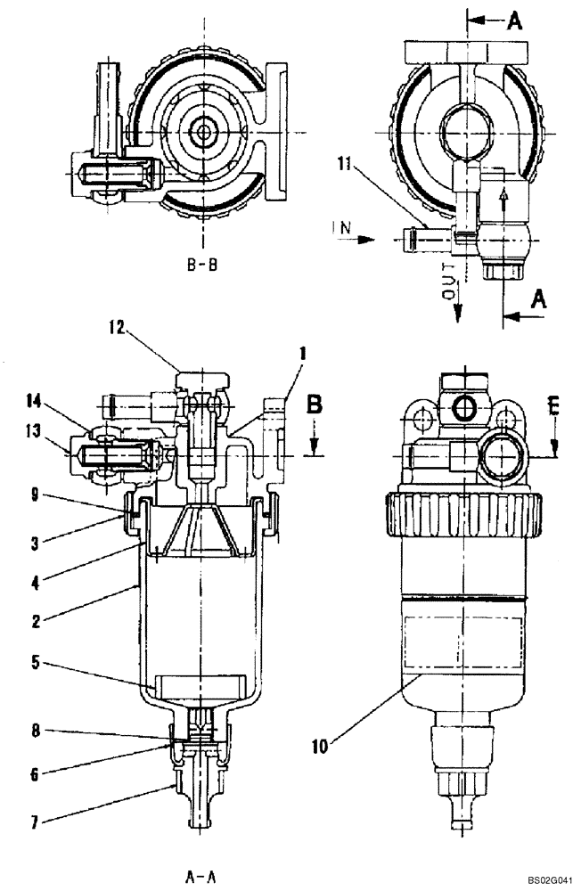
11
13
14
10
9
1
5
3
8
6
7
2
12
4
FIT
1:1
100%

Артикул

Название

Примечание

Количество

KRH1343

WATER TRAP

Water Separator; Incl. 1 - 14

1шт.

1

156289A1

FILTER HEAD

1шт.

2

156240A1

FILTER BOWL

1шт.

3

156184A1

RING NUT

1шт.

4

156291A1

PLATE

1шт.

5

LT00118

FLOAT

1шт.

6

155353A1

PLUG

1шт.

7

155467A1

PLUG, DRAIN

1шт.

8

154462A1

O-RING

1шт.

9

154639A1

O-RING

1шт.

10

LM00072

LABEL

1шт.

11

158679A1

FITTING

2шт.

12

LA00657

BOLT

1шт.

13

LJ00912

BOLT

1шт.

14

158678A1

GASKET

4шт.

15

KHH0530

FILTER CARTRIDGE

Not Shown

1шт.

Выбрано товаров: 16