Запчасти Case CX290 (04-14) - BATTERY - CABLES (04) - ELECTRICAL SYSTEMS

Схема запчастей Case CX290 - (04-14) - BATTERY - CABLES (04) - ELECTRICAL SYSTEMS
3
6
8
11
2
2
7
9
10
4
7
3
12
5
FIT
1:1
100%

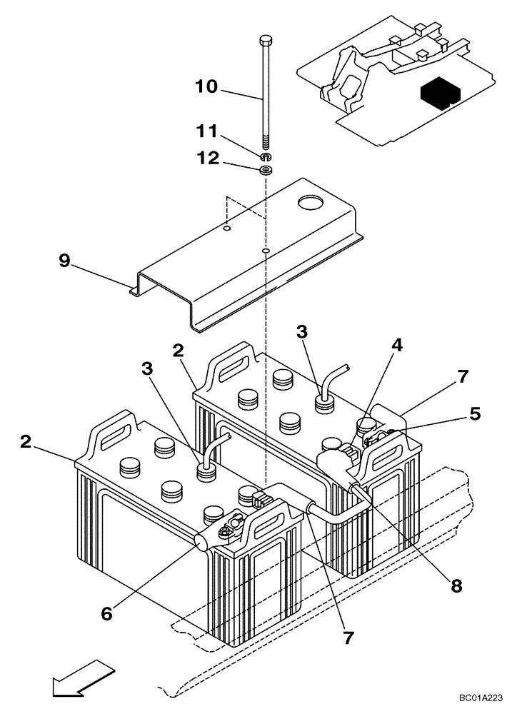
Артикул

Название

Примечание

Количество

2

168798A1

DRY BATTERY

2шт.

3

150099A1

SENSOR

2шт.

4

158403A1

TERMINAL CONNECTOR

2шт.

5

150455A1

TERMINAL CONNECTOR

2шт.

6

150366A1

CAP

1шт.

7

166116A1

DUST CAP

2шт.

8

166117A1

DUST CAP

1шт.

9

161011A1

SUPPORT

1шт.

10

152821A1

BOLT,Spcl, Hex, M10 x 270mm

2шт.

11

892-11010

LOCK WASHER,M10

2шт.

12

150409A1

WASHER

2шт.

REF

INSTRUCTION

Cable Assy, See Figure 04-05

1шт.

Выбрано товаров: 0