Запчасти Case CX290 (06-02A) - TRANSMISSION ASSY - GEAR ASSY, REDUCTION (06) - POWER TRAIN

Схема запчастей Case CX290 - (06-02A) - TRANSMISSION ASSY - GEAR ASSY, REDUCTION (06) - POWER TRAIN
FIT
1:1
100%

Артикул

Название

Примечание

Количество

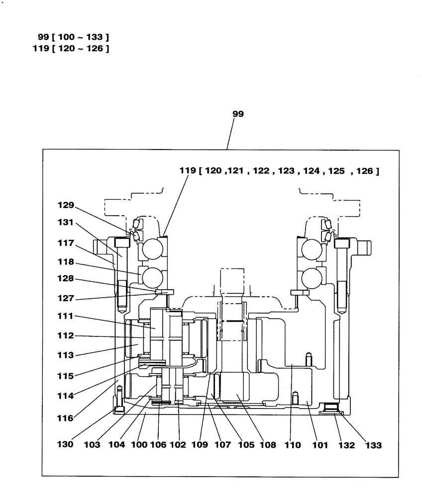
99

LN00133

GEAR REDUCTION UNIT

Assy, Incl. 100-133

1шт.

100

LW00381

COVER

1шт.

101

LN00119

HOUSING

1шт.

102

LA00906

PIN

3шт.

103

LB00789

NEEDLE BEARING

3шт.

104

LA00830

WASHER

6шт.

105

LC00199

PLANETARY GEAR

3шт.

106

338W060Z036N

PIN

3шт.

107

LR00857

PLATE

1шт.

108

LC00200

SUN GEAR

1шт.

109

LC00201

SUN GEAR

1шт.

110

LN00120

HOUSING

1шт.

111

LA00907

PIN

3шт.

112

LB00790

NEEDLE BEARING

3шт.

113

LC00202

PLANETARY GEAR

3шт.

114

338W100Z056N

DOWEL

3шт.

115

LA00835

WASHER

6шт.

116

LC00203

RING GEAR

1шт.

117

LT00126

HOUSING

1шт.

118

LB00791

BEARING, BALL

2шт.

119

LH00388

SHIM

1шт.

120

LH00421

SHIM,1.3mm Thk

1шт.

121

LH00422

SHIM,1.4mm Thk

1шт.

122

LH00423

SHIM,1.5mm Thk

1шт.

123

LH00424

SHIM,1.6mm Thk

1шт.

124

LH00425

SHIM,1.7mm Thk

1шт.

125

LH00426

SHIM,1.8mm Thk

1шт.

126

LH00427

SHIM,1.9mm Thk

1шт.

127

LA00832

LOCK WASHER

2шт.

128

LE00992

RING

1шт.

129

LE00993

SEAL

1шт.

130

863-10025

HEX SOC SCREW,M10 x 25mm, Cl 12.9

22шт.

131

863-18100

HEX SOC SCREW,M18 x 100mm, Cl 12.9

22шт.

132

LK00383

PLUG

2шт.

133

154503A1

O-RING

2шт.

Выбрано товаров: 35