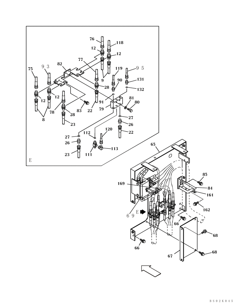
Запчасти Case CX330 (08-26) - PILOT CONTROL LINES, PARTITION - MODELS WITHOUT LOAD HOLD (08) - HYDRAULICS

Схема запчастей Case CX330 - (08-26) - PILOT CONTROL LINES, PARTITION - MODELS WITHOUT LOAD HOLD (08) - HYDRAULICS
27
8
119
bs02k045
22
111
26
23
69
e
112
23
77
12
132
12
75
83
84
162
131
78
28
82
80
28
66
120
27
169
68
93
161
76
118
22
113
90
12
67
e
85
12
91
26
81
66
79
9
95
68
65
FIT
1:1
100%

Артикул

Название

Примечание

Количество

8

KRJ4336

HYDRAULIC HOSE,9.50 mm ID x 2200.00 mm

See Figure 08-25

2шт.

9

168025A1

HYDRAULIC HOSE,9.50 mm ID x 1950.00 mm

See Figure 08-25

2шт.

12

162826A1

ADAPTER

4шт.

22

KHJ1345

HYDRAULIC HOSE,9.52 mm ID x 2150.00 mm

See Figure 08-25

2шт.

23

168025A1

HYDRAULIC HOSE,9.50 mm ID x 1950.00 mm

See Figure 08-25

2шт.

26

152747A1

ADAPTER

Incl. 27

2шт.

27

154467A1

O-RING,10.8mm ID x 2.4mm Width

1шт.

28

162826A1

ADAPTER

2шт.

65

KTJ2107

BRACKET

1шт.

66

166352A1

BOLT

3шт.

67

KTJ2108

COVER

1шт.

68

166052A1

BOLT

4шт.

69

KSJ2765

VALVE, CUSHION

See Figure 08-27, 08-79C

1шт.

75

KRJ3569

HOSE

See Figure 08-27

1шт.

76

162835A1

HOSE ASSY.

See Figure 08-27

1шт.

77

162835A1

HOSE ASSY.

See Figure 08-27

1шт.

78

KRJ3569

HOSE

See Figure 08-27

1шт.

79

KHJ17120

VALVE SECTION

; Replaces KHJ1973

1шт.

80

827-8045

BOLT,Hex, M8 x 1.25 x 45mm, Cl 10.9

2шт.

81

153081A1

WASHER

2шт.

82

KHJ1576

BRACKET

1шт.

83

166052A1

BOLT

2шт.

84

KTJ2109

BRACKET

1шт.

85

166052A1

BOLT

2шт.

90

152127A1

HYD CONNECTOR,1/4" NPT O-Ring x 1/4" NPT

Incl. 91

1шт.

91

154467A1

O-RING,10.8mm ID x 2.4mm Width

1шт.

93

157972A1

HOSE ASSY.

See Figure 08-34

1шт.

95

163359A1

HOSE ASSY.

See Figure 08-34

1шт.

111

KHJ2773

TEE

Incl. 112; Replaces KHJ1974

1шт.

112

154467A1

O-RING,10.8mm ID x 2.4mm Width

1шт.

113

163814A1

ELBOW

1шт.

118

157972A1

HOSE ASSY.

See Figure 08-34

1шт.

119

163359A1

HOSE ASSY.

See Figure 08-34

1шт.

120

KAJ3508

HYDRAULIC HOSE

See Figure 08-34

1шт.

131

152127A1

HYD CONNECTOR,1/4" NPT O-Ring x 1/4" NPT

Incl. 132

1шт.

132

154467A1

O-RING,10.8mm ID x 2.4mm Width

1шт.

161

159036A1

CLAMP

1шт.

162

166350A1

BOLT

2шт.

169

150071A1

MOUNTING CLIP

1шт.

Выбрано товаров: 39