Запчасти Case CX330 (08-29) - PILOT CONTROL LINES, PARTITION - MODELS WITH CONTROL SELECTOR VALVE (08) - HYDRAULICS

Схема запчастей Case CX330 - (08-29) - PILOT CONTROL LINES, PARTITION - MODELS WITH CONTROL SELECTOR VALVE (08) - HYDRAULICS
118
101
71
85
139
89
98
100
140
137
112
93
81
90
143
109
92
86
74
69
146
147
75
131
82
67
79
f
63
94
bs02k048
70
92
76
81
78
88
77
68
110
80
111
84
88
97
94
116
95
82
83
95
87
f
145
73
79
99
78
87
80
77
93
130
FIT
1:1
100%

Артикул

Название

Примечание

Количество

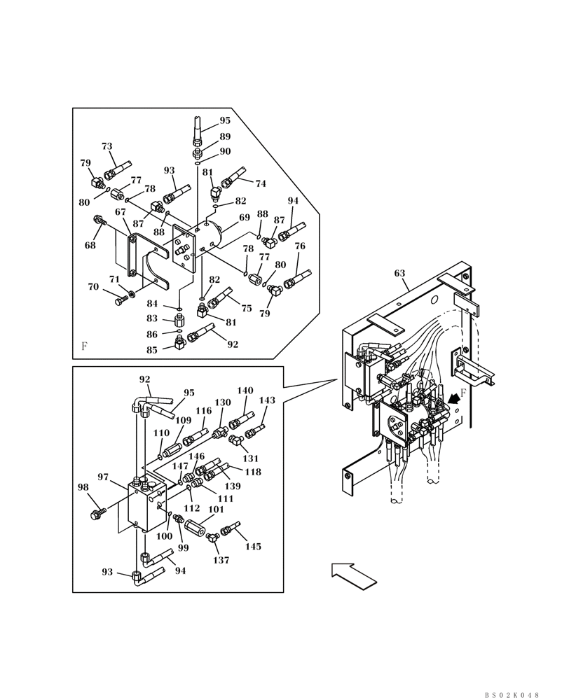
63

KTJ2107

BRACKET

1шт.

67

KNJ2946

BRACKET

1шт.

68

166052A1

BOLT

2шт.

69

KHJ2184

VALVE

See Figure 08-75

1шт.

70

167836A1

BOLT,High Strength, M10 x 25mm

2шт.

71

150409A1

WASHER

2шт.

73

KHJ1306

HYDRAULIC HOSE,9.52 mm ID x 550.00 mm

See Figure 08-28

1шт.

74

167871A1

HYDRAULIC HOSE,19.00 mm ID x 700.00 mm

See Figure 08-28

1шт.

75

KHJ1306

HYDRAULIC HOSE,9.52 mm ID x 550.00 mm

See Figure 08-28

1шт.

76

167871A1

HYDRAULIC HOSE,19.00 mm ID x 700.00 mm

See Figure 08-28

1шт.

77

KHJ1584

UNION

Incl. 78

2шт.

78

154467A1

O-RING,10.8mm ID x 2.4mm Width

1шт.

79

150916A1

ELBOW,90 Degree, 3/8" O-Ring x 3/8"

Incl. 80

2шт.

80

154475A1

O-RING

1шт.

81

153559A1

ELBOW

Incl. 82

2шт.

82

154467A1

O-RING,10.8mm ID x 2.4mm Width

1шт.

83

KHJ1584

UNION

Incl. 84

1шт.

84

154467A1

O-RING,10.8mm ID x 2.4mm Width

1шт.

85

150916A1

ELBOW,90 Degree, 3/8" O-Ring x 3/8"

Incl. 86

1шт.

86

154475A1

O-RING

1шт.

87

153559A1

ELBOW

Incl. 88

2шт.

88

154467A1

O-RING,10.8mm ID x 2.4mm Width

1шт.

89

152747A1

ADAPTER

Incl. 90

1шт.

90

154467A1

O-RING,10.8mm ID x 2.4mm Width

1шт.

92

KHJ1169

HYDRAULIC HOSE,9.52 mm ID x 2400.00 mm

1шт.

93

KHJ1193

HYDRAULIC HOSE,9.52 mm ID x 450.00 mm

1шт.

94

KHJ1062

HYDRAULIC HOSE,9.52 mm ID x 550.00 mm

1шт.

95

KHJ1168

HYDRAULIC HOSE,9.52 mm ID x 350.00 mm

1шт.

97

KSJ2765

VALVE, CUSHION

See Figure 08-79C

1шт.

98

166052A1

BOLT

2шт.

99

152899A1

HYD CONNECTOR

Incl. 100

1шт.

100

154467A1

O-RING,10.8mm ID x 2.4mm Width

1шт.

101

151552A1

FILTER

1шт.

109

KAJ2351

FITTING

Incl. 110

1шт.

110

154475A1

O-RING

1шт.

111

152128A1

HYD CONNECTOR,3/8" NPT O-Ring x 3/8" NPT

Incl. 112

1шт.

112

154475A1

O-RING

1шт.

116

161487A1

HOSE ASSY.

See Figure 08-36

1шт.

118

KMJ1830

HOSE

See Figure 08-36

1шт.

130

163422A1

TEE

1шт.

131

163814A1

ELBOW

1шт.

137

153596A1

ADAPTER

1шт.

139

161487A1

HOSE ASSY.

See Figure 08-36

1шт.

140

KMJ1830

HOSE

See Figure 08-36

1шт.

143

KAJ3508

HYDRAULIC HOSE

See Figure 08-36

1шт.

145

162193A1

HOSE ASSY.

See Figure 08-36

1шт.

146

152128A1

HYD CONNECTOR,3/8" NPT O-Ring x 3/8" NPT

Incl. 147

1шт.

147

154475A1

O-RING

1шт.

Выбрано товаров: 48