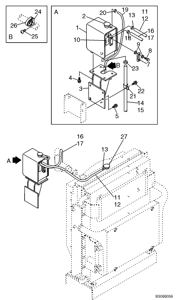
Запчасти Case CX330 (02-05) - COOLANT RECOVERY SYSTEM (02) - ENGINE

Схема запчастей Case CX330 - (02-05) - COOLANT RECOVERY SYSTEM (02) - ENGINE
5
2
20
3
26
25
21
23
13
18
17
24
13
1
9
22
14
12
11
17
16
7
12
4
16
11
19
27
15
10
8
FIT
1:1
100%

Артикул

Название

Примечание

Количество

1

KBH0960

TANK

Incl. 2

1шт.

2

KBH0963

CAP

1шт.

3

KSH0981

BRACKET

1шт.

4

152718A1

BOLT,Spcl, Hex Wshr, M12 x 25mm, Cl 10.9

4шт.

5

166352A1

BOLT

4шт.

KHH0496

SIGHTGLASS

Incl. 7 - 9

1шт.

7

KHH0497

GAUGE

1шт.

8

159492A1

BOLT

2шт.

9

159493A1

SEALING WASHER

SEAL WASHER

4шт.

10

KHP1602

DECAL

1шт.

11

KRH1511

HOSE

1шт.

12

157767A1

PLASTIC-RUBBER TUBE

1шт.

13

157912A1

CLAMP

2шт.

14

KRH1554

HOSE

See Figure 02- 04, REF 52; Replaces KRH1431

1шт.

15

KBR0662

PLASTIC-RUBBER TUBE

1шт.

16

KBH0961

HOSE

1шт.

17

158061A1

PLASTIC-RUBBER TUBE

1шт.

18

157912A1

CLAMP

1шт.

19

157488A1

HOSE

1шт.

20

150067A1

MOUNTING CLIP

1шт.

21

158970A1

COLLAR

1шт.

22

KHN2132

BOLT,Hex Flg Hd, M6 x 16

1шт.

23

157915A1

CLAMP

1шт.

24

150860A1

COLLAR

1шт.

25

840-168

SCREW,Pan, M6 x 1 x 8mm, Cl 4.8

1шт.

26

150067A1

MOUNTING CLIP

1шт.

27

KHP1656

DECAL

1шт.

Выбрано товаров: 27