Запчасти Case CX330 (08-61) - MOTOR ASSY - SWING (08) - HYDRAULICS

Схема запчастей Case CX330 - (08-61) - MOTOR ASSY - SWING (08) - HYDRAULICS
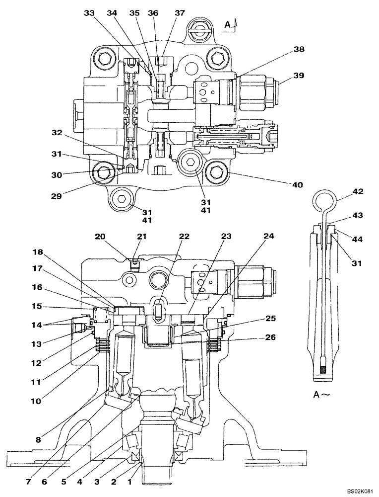
20
15
17
13
2
34
35
41
30
1
23
43
31
10
42
24
31
21
3
14
32
4
8
41
11
12
18
40
38
6
36
22
5
31
29
7
16
31
39
33
25
44
26
37
FIT
1:1
100%

Артикул

Название

Примечание

Количество

KSC0230

MOTOR, HYDRAULIC

Incl. 1 - 44; No Longer Availabe, Replaces By KSC0247

1шт.

KSC10170R

REMAN-HYD MOTOR

CX330 CASE CRAWLER EXCAVATOR (NORTH AMERICA), SWING, Reman for New PN KSC0230

1шт.

KSC10170C

CORE-MOTOR HYDRAULIC

Return Number

1шт.

KSC0247

MOTOR, HYDRAULIC

Incl. 1 - 44

1шт.

KSC10170R

REMAN-HYD MOTOR

CX330 CASE CRAWLER EXCAVATOR (NORTH AMERICA), SWING, Reman for New PN KSC0247

1шт.

KSC10170C

CORE-MOTOR HYDRAULIC

Return Number

1шт.

1

155613A1

RING, LOCKING

RING, LOCK

1шт.

2

155620A1

SPACER

1шт.

3

155106A1

OIL SEAL

1шт.

4

156133A1

TAPERED BEARING,45mm ID x 100mm OD x 27.25mm W

1шт.

5

165745A1

COLLAR

1шт.

6

156080A1

SPRING

Used In KSC0230 Motor, Replaces LR00962

1шт.

6

LG00540

SPRING

Used In KSC0247 Motor

1шт.

7

LF00001

CAM

1шт.

8

LR00039

PLATE

Used In KSC0230 Motor

1шт.

8

LR01166

PLATE

Used In KSC0247 Motor

1шт.

10

LR00040

PLATE

4шт.

11

LR00041

PLATE

4шт.

12

155199A1

O-RING

1шт.

13

LJ00042

PISTON

1шт.

14

LBQ5264

O-RING

2шт.

15

156082A1

SPRING

20шт.

16

LB00841

BUSHING

4шт.

17

LE01021

RING

4шт.

18

LA00848

WASHER

4шт.

20

154467A1

O-RING,10.8mm ID x 2.4mm Width

2шт.

21

160306A1

CAP

2шт.

22

160101A1

COTTER PIN

Replaces LMM0544

2шт.

23

LJ00723

PISTON

2шт.

24

LR00963

PLATE

1шт.

25

LB00040

NEEDLE BEARING

1шт.

26

155614A1

RING, LOCKING

RING, LOCK

1шт.

29

LNM0426

VALVE POPPET

Bypass

2шт.

30

166176A1

BACK-UP RING

2шт.

31

154487A1

O-RING

5шт.

32

154471A1

O-RING

2шт.

33

154515A1

O-RING

2шт.

34

153991A1

BACK-UP RING

2шт.

35

155944A1

PLUNGER

2шт.

36

156079A1

SPRING

2шт.

37

156305A1

CAP

2шт.

38

154535A1

O-RING

2шт.

39

LJ00987

VALVE, PRESSURE RELI

EF Incl. 40A - 40D

2шт.

40a

154515A1

O-RING

Not Illustrated

1шт.

40b

154535A1

O-RING

Not Illustrated

1шт.

40c

154503A1

O-RING

Not Illustrated

1шт.

40d

153982A1

BACK-UP RING

Not Illustrated

1шт.

40

108R020Z060N

BOLT

4шт.

41

160903A1

CAP

2шт.

42

LM00076

GAUGE

1шт.

43

155201A1

O-RING

1шт.

44

LR00895

CAP

1шт.

LZ00632

SEAL KIT

1шт.

Выбрано товаров: 53