Запчасти Case CX330 (08-63A) - HYDRAULICS - JOINT, SWIVEL CENTER (P.I.N. DAC 0733255 - ) (08) - HYDRAULICS

Схема запчастей Case CX330 - (08-63A) - HYDRAULICS - JOINT, SWIVEL CENTER (P.I.N. DAC 0733255 - ) (08) - HYDRAULICS
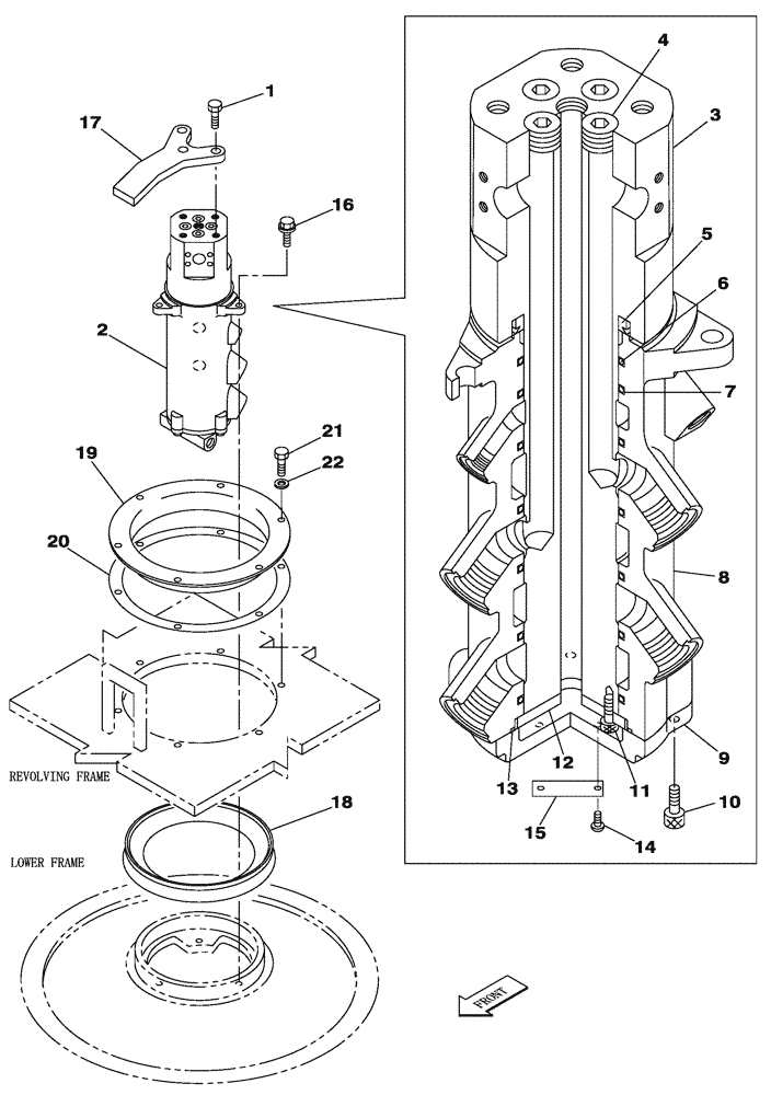
4
18
16
17
15
5
20
14
21
11
3
19
7
6
9
10
13
12
2
1
22
8
FIT
1:1
100%

Артикул

Название

Примечание

Количество

1

166373A1

BOLT,Sems, M16 x 40mm

M16 x 40

3шт.

2

KSA1305

HYDRAULIC SWIVEL

Incl. 3 - 16

1шт.

2

KSA1305R

REMAN-HYDRAULIC SWIV

CX330 CASE CRAWLER EXCAVATOR (NORTH AMERICA), SWIVEL CENTER (P.I.N. DAC 0733255 - )

1шт.

2

KSA1305C

CORE-HYDRAULIC SWIV

Return Number

1шт.

3

KSA1303

SHAFT

1шт.

4

150829A1

PLUG

4шт.

5

KTA1092

SHAFT SEAL

1шт.

6

KHA10120

O-RING

Replaces 154712A1

1шт.

7

KTA1093

SEALING RING

SEALRING

6шт.

8

KSA1304

ROTOR

1шт.

9

KTA1095

COVER

1шт.

10

861-10030

HEX SOC SCREW,M10 x 30mm, Cl 12.9

4шт.

11

861-8020

HEX SOC SCREW,M8 x 20mm, Cl 12.9

4шт.

12

KTA1096

PLATE

1шт.

13

154761A1

O-RING,119.4mm ID x 3.1mm Width

1шт.

14

301-1413

DRIVE SCREW,Drive, #2 x 3/16"

2шт.

15

NSS

NOT SOLD SEPARAT

Name Plate

1шт.

16

166352A1

BOLT

3шт.

17

KSA1140

SUPPORT

1шт.

18

151009A1

SEALING RING

1шт.

19

152635A1

RETAINER

1шт.

20

152596A1

RUBBER SEAL

1шт.

21

627-12020

BOLT,Hex, M12 x 1.75 x 20mm, Cl 10.9, Full Thd

6шт.

22

161498A1

SEALING WASHER

6шт.

Выбрано товаров: 24