Запчасти Case CX330 (08-75) - VALVE, PILOT - PILOT CONTROL LINES (08) - HYDRAULICS

Схема запчастей Case CX330 - (08-75) - VALVE, PILOT - PILOT CONTROL LINES (08) - HYDRAULICS
6
11
2
9
10
8
1
4
10
3
7
12
11
5
FIT
1:1
100%

Артикул

Название

Примечание

Количество

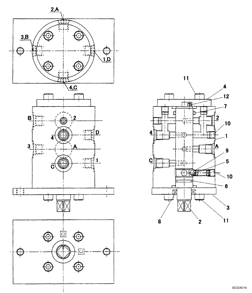
KHJ2184

VALVE

Pilot; Incl. 1 - 12

1шт.

1

NSS

NOT SOLD SEPARAT

Body

1шт.

2

NSS

NOT SOLD SEPARAT

Shaft

1шт.

3

NSS

NOT SOLD SEPARAT

Flange

1шт.

4

NSS

NOT SOLD SEPARAT

Flange

1шт.

5

LG00426

COMPRESSION SPRING

1шт.

6

154491A1

O-RING

1шт.

7

154503A1

O-RING

1шт.

8

LS00199

SHAFT SEAL

1шт.

9

LB00781

BALL

1шт.

10

LK00377

PLUG

9шт.

11

864-8020

HEX SOC SCREW,M8 x 20mm, Cl 8.8

8шт.

12

738-1512

LOCK PIN,M5 x 12, Slotted

3шт.

Выбрано товаров: 13