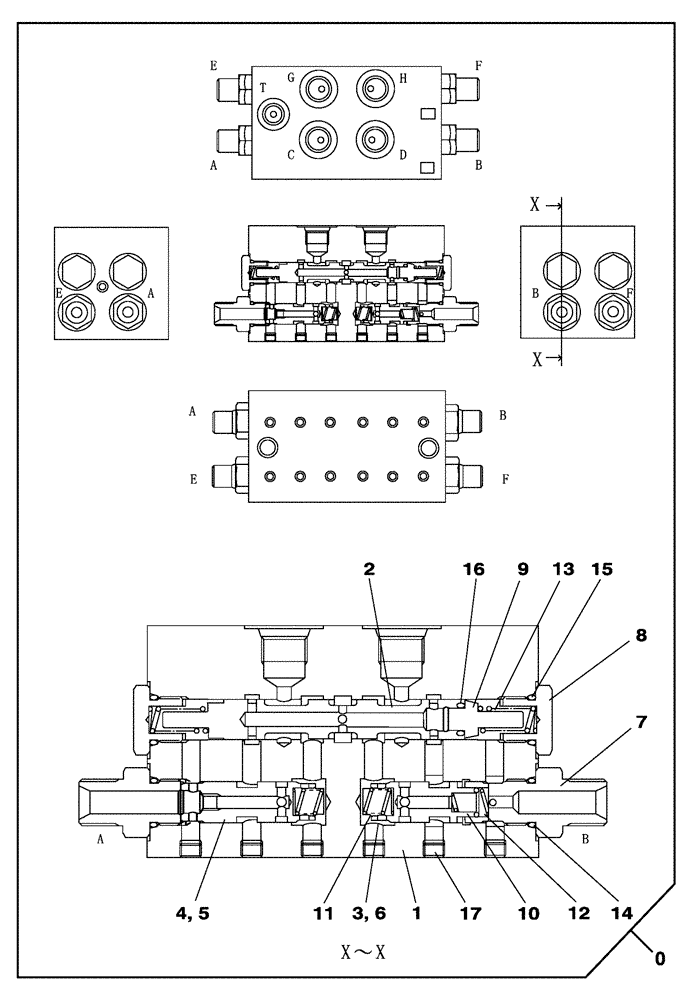
Запчасти Case CX330 (08-79D) - CUSHION VALVE - PILOT (MODELS WITH LOAD HOLD) (08) - HYDRAULICS

Схема запчастей Case CX330 - (08-79D) - CUSHION VALVE - PILOT (MODELS WITH LOAD HOLD) (08) - HYDRAULICS
10
16
4
11
0
14
1
5
8
13
15
2
3
17
12
7
6
9
FIT
1:1
100%

Артикул

Название

Примечание

Количество

0

KSJ2845

VALVE, CUSHION

Incl. 1 - 17

1шт.

1

NSS

NOT SOLD SEPARAT

Valve

1шт.

2

NSS

NOT SOLD SEPARAT

Spool, Valve

2шт.

3

NSS

NOT SOLD SEPARAT

Spool, Valve

1шт.

4

NSS

NOT SOLD SEPARAT

Spool, Valve

1шт.

5

NSS

NOT SOLD SEPARAT

Spool, Valve

1шт.

6

NSS

NOT SOLD SEPARAT

Spool, Valve

1шт.

7

NSS

NOT SOLD SEPARAT

Adapter, Hose

4шт.

8

NSS

NOT SOLD SEPARAT

Retainer

4шт.

9

156661A1

YOKE

UNIVERSAL JOINT YOKE

2шт.

10

153117A1

COLLAR

4шт.

11

153109A1

SPRING

4шт.

12

153114A1

SPRING

4шт.

13

153107A1

SPRING

4шт.

14

154486A1

O-RING

4шт.

15

154474A1

O-RING

4шт.

16

154454A1

O-RING

2шт.

17

161004A1

PLUG

17шт.

Выбрано товаров: 18