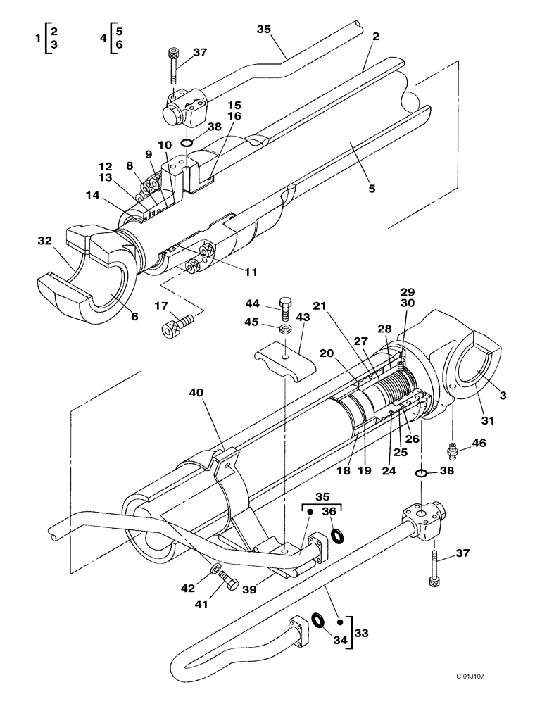
Запчасти Case CX330 (08-80) - CYLINDER ASSY, BOOM, RIGHT HAND - MODELS WITHOUT LOAD HOLD (08) - HYDRAULICS

Схема запчастей Case CX330 - (08-80) - CYLINDER ASSY, BOOM, RIGHT HAND - MODELS WITHOUT LOAD HOLD (08) - HYDRAULICS
16
44
15
2
25
32
33
40
35
31
43
46
39
14
27
4
38
21
20
9
45
28
3
30
26
35
17
6
24
10
8
13
41
1
42
12
34
11
37
6
18
29
36
38
5
19
5
37
2
3
FIT
1:1
100%

Артикул

Название

Примечание

Количество

KSV1393

HYDRAULIC CYLINDER

Boom, Right Hand; Incl. 1 - 46

1шт.

1

LR00791

HYD CYL SLEEVE

Incl. 2, 3

1шт.

2

NSS

NOT SOLD SEPARAT

Tube, Cylinder

1шт.

3

LB00728

BUSHING

1шт.

4

LB00729

PISTON ROD

Incl. 5, 6

1шт.

5

NSS

NOT SOLD SEPARAT

Rod, Piston

1шт.

6

155426A1

BUSHING

1шт.

8

LU00153

CYLINDER END CAP

1шт.

9

155429A1

BUSHING

1шт.

10

155695A1

RING, SNAP

RING SNAP

1шт.

11

LE00953

RING

1шт.

12

BLA2786

O-RING

1шт.

13

LE00954

BACK-UP RING

1шт.

14

160502A1

WIPER SEAL

1шт.

15

154797A1

O-RING

1шт.

16

LE00739

BACK-UP RING

1шт.

17

108R020Z080N

BOLT

M20 x 80; 12.9

10шт.

18

160550A1

RING

Cushion

1шт.

19

LE00955

SEAL

Cushion

1шт.

20

LJ00898

JACK PISTON

1шт.

21

LE00742

BACK-UP RING

1шт.

24

LE00743

BACK-UP RING

2шт.

25

LE00744

SCRAPER RING

1шт.

26

LE00745

SCRAPER RING

1шт.

27

155733A1

SHIM

1шт.

28

LA00738

NUT

1шт.

29

156228A1

SET SCREW

1шт.

30

155981A1

BALL

1шт.

31

162962A1

WIPER SEAL

2шт.

32

163840A1

WIPER SEAL

2шт.

33

LR00793

PIPE

Incl. 34

1шт.

34

154523A1

O-RING

1шт.

35

LR00794

HYD TUBE

Incl. 36

1шт.

36

154523A1

O-RING

1шт.

37

160301A1

BOLT

8шт.

38

154543A1

O-RING

2шт.

39

LD00082

CLAMP BRACKET

1шт.

40

LD00083

CLAMP BRACKET

1шт.

41

158131A1

BOLT,High Strength, M10 x 1.5 x 35mm, Cl 10.9

2шт.

42

156227A1

WASHER

2шт.

43

155709A1

COLLAR

2шт.

44

102R014S090N

BOLT

1шт.

45

892-16014

LOCK WASHER,M14, Hvy

1шт.

46

153630A1

LUBE NIPPLE

Grease

1шт.

LZ00477

SEAL KIT

Incl. 11 - 16, 19, 21 - 27

1шт.

Выбрано товаров: 45