Качественные детали и логистика
Оригинальные и аналоговые запчасти с доставкой по России, Казахстану и Беларуси
©2022 PartSell ООО "Система" ИНН 2463123282 ОГРН 1212400004838
Центральный офис: г. Красноярск, Академика Киренского, д.87, пом.4
Телефон: 8 (800) 777-65-74 Email: zakaz@partsell.ru
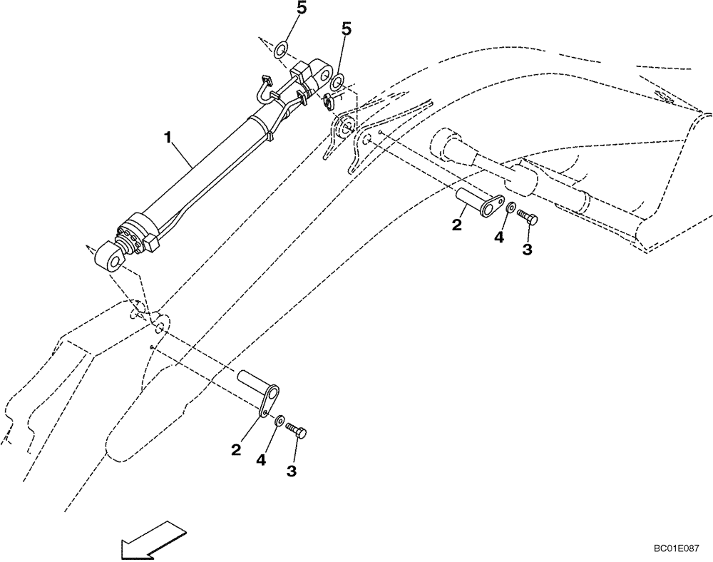
(09-49) - ARM CYLINDER - MOUNTING
№
Артикул
Название
Примечание
Количество
1
KSV1395
HYDRAULIC CYLINDER
Arm; Models Without Load Hold; See Figure 08-84
1шт.
KSV1456
Arm; Models With Load Hold; See Figure 08-85
2
KSV1417
PIN
2шт.
3
102R020Y035R
BOLT
4
KTV1185
SPACER
5
158451A1
Выбрано товаров: 0