Запчасти Case CX330 (03-02A) - WATER SEPARATOR ASSY (03) - FUEL SYSTEM

Схема запчастей Case CX330 - (03-02A) - WATER SEPARATOR ASSY (03) - FUEL SYSTEM
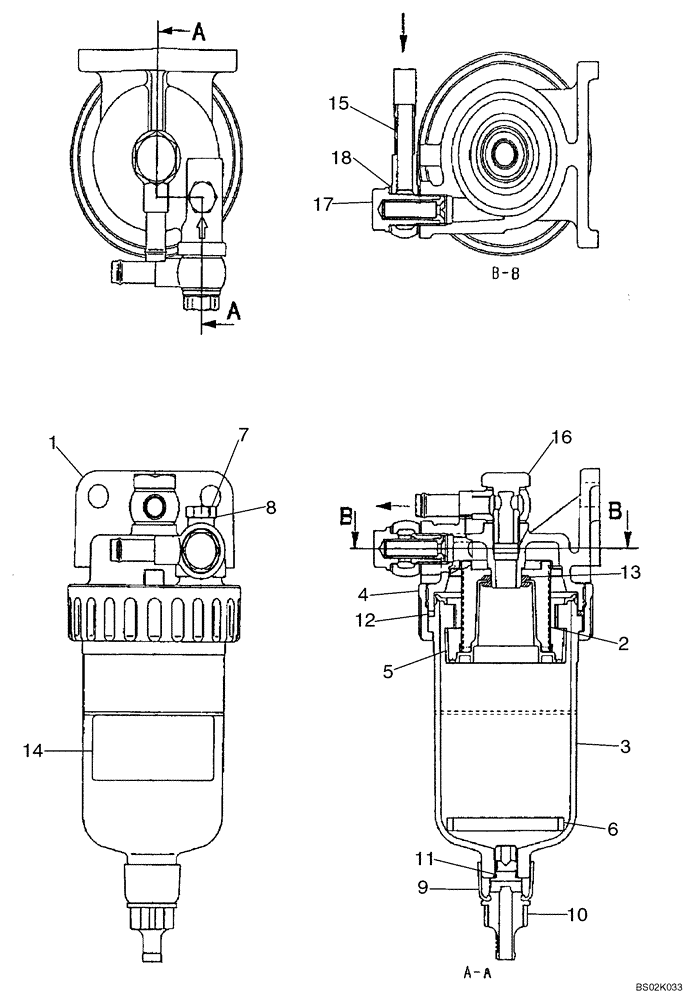
12
18
14
7
4
1
9
17
13
5
11
15
10
2
3
6
8
16
FIT
1:1
100%

Артикул

Название

Примечание

Количество

KTH0672

WATER TRAP

Water Separator; Incl. 1 - 18; Replaces KTH0594

1шт.

1

NSS

NOT SOLD SEPARAT

Head

1шт.

2

NSS

NOT SOLD SEPARAT

Screen

1шт.

3

NSS

NOT SOLD SEPARAT

Housing

1шт.

4

NSS

NOT SOLD SEPARAT

Nut, Ring

1шт.

5

NSS

NOT SOLD SEPARAT

Plate, Baffle

1шт.

6

NSS

NOT SOLD SEPARAT

Ring, Level

1шт.

7

169011A1

PLUG

Air Vent

1шт.

8

LEH0005

GASKET

1шт.

LK00451

PLUG

Incl. 9 - 11

1шт.

9

155353A1

PLUG

1шт.

10

155467A1

PLUG, DRAIN

1шт.

11

154462A1

O-RING

1шт.

12

LE01023

O-RING

1шт.

13

NSS

NOT SOLD SEPARAT

Gasket

1шт.

14

NSS

NOT SOLD SEPARAT

Name Plate

1шт.

15

158679A1

FITTING

2шт.

16

LA00657

BOLT

1шт.

17

LA00657

BOLT

1шт.

18

158678A1

GASKET

4шт.

Выбрано товаров: 20