Запчасти Case CX330 (03-04) - PUMP, FUEL TRANSFER (03) - FUEL SYSTEM

Схема запчастей Case CX330 - (03-04) - PUMP, FUEL TRANSFER (03) - FUEL SYSTEM
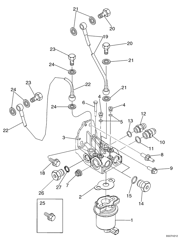
3
2
15
25
7
5
22
1
10
26
27
11
8
4
4
24
20
20
12
13
6
2
24
14
24
21
9
23
23
19
18
22
21
FIT
1:1
100%

Артикул

Название

Примечание

Количество

6TAA-8304 EMISSIONS CERTIFIED ENGINE

1шт.

87586325

FUEL PUMP

Incl. 1 - 7; Replaces J939898

1шт.

1

NSS

NOT SOLD SEPARAT

Pump, Fuel

1шт.

2

J944382

GASKET

Mounting

1шт.

3

NSS

NOT SOLD SEPARAT

Bracket, Fuel Pump

1шт.

4

J678923

PLUG,M10 x 1

10 mm; Incl. 5

2шт.

5

637-72081

O-RING,1.6mm Thk x 8.1mm ID, Cl 7, 75 Duro

1шт.

6

414-516

BOLT,Hex, 5/16" - 24 x 1", Gr 5

3шт.

7

J943650

VALVE

Check

1шт.

8

J944152

FLANGE BOLT,Hex, M8 x 1.25 - M10 x 1.5 x 25mm, Cl 8.8

1шт.

9

844-10025

BOLT,Hex, M10 x 25mm, Cl 8.8

2шт.

10

311214A1

ADAPTER

Incl. 11

1шт.

11

237-8010

O-RING,0.097" Thk x 0.755" ID, -910, Cl 8, 90 Duro

1шт.

12

313923A1

ELBOW

Incl. 13

1шт.

13

237-8008

O-RING,0.087" Thk x 0.644" ID, -908, Cl 8, 90 Duro

1шт.

14

311184A1

PLUG

Incl. 15

2шт.

15

237-8010

O-RING,0.097" Thk x 0.755" ID, -910, Cl 8, 90 Duro

1шт.

18

844-10025

BOLT,Hex, M10 x 25mm, Cl 8.8

2шт.

19

J943599

FUEL TUBE,8 mm OD

1шт.

20

J903035

BANJO BOLT

M12 x 24

2шт.

21

87415913

SEALING WASHER,11.71mm ID x 19.3mm OD x 1.27mm Thk

12 x 19 x 1,5 mm; Replaces J935171

4шт.

22

J948229

FUEL TUBE,0.394" OD

1шт.

23

J924725

BANJO BOLT,M14 x 1.5 x 26mm

2шт.

24

J918192

PACKING RING,14mm ID x 20mm OD x 1mm Thk

14 x 20 x 1 mm

4шт.

25

845-8016

BOLT,Hvy Hex, M8 x 16mm, Cl 8.8

1шт.

26

311215A1

PLUG

1/2 OD Or, Incl. 27

1шт.

27

237-8008

O-RING,0.087" Thk x 0.644" ID, -908, Cl 8, 90 Duro

1шт.

Выбрано товаров: 27