Запчасти Case CX330 (08-14) - HYDRAULICS - ARM CYLINDER, MODELS WITHOUT LOAD HOLD (08) - HYDRAULICS

Схема запчастей Case CX330 - (08-14) - HYDRAULICS - ARM CYLINDER, MODELS WITHOUT LOAD HOLD (08) - HYDRAULICS
6
13
14
10
6
2
14
11
1
9
3
8
5
4
12
7
13
FIT
1:1
100%

Артикул

Название

Примечание

Количество

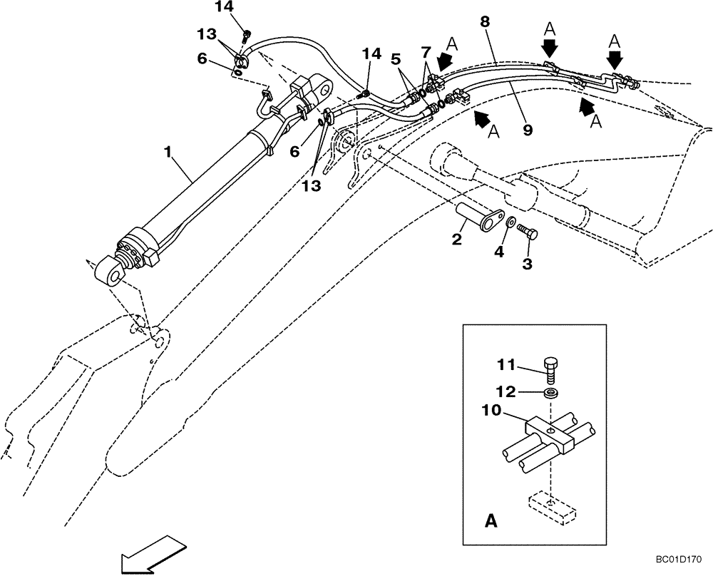
1

KSV1395

HYDRAULIC CYLINDER

Arm; See Figure 08-84

1шт.

5

KSV16640

HYDRAULIC HOSE

Replaces KSV1366

2шт.

6

164450A1

O-RING

2шт.

7

KHJ1361

O-RING,0.07" Thk x 0.926" ID

2шт.

8

KSV1354

TUBE ASSY.,26 mm ID x 34 mm OD

1шт.

9

KSV1355

TUBE ASSY.,26 mm ID x 34 mm OD

1шт.

10

162595A1

CLAMP

5шт.

11

827-16070

BOLT,Hex, M16 x 2 x 70mm, Cl 10.9

5шт.

12

150814A1

WASHER,17mm ID x 32mm OD x 4.5mm Thk

5шт.

13

150124A1

FLANGE

Split

4шт.

14

862-14050

HEX SOC SCREW,M14 x 50mm, Cl 12.9

8шт.

Выбрано товаров: 11