Запчасти Case CX330 (02-001-00[01]) - ENGINE MOUNTING - ENGINE (02) - ENGINE

Схема запчастей Case CX330 - (02-001-00[01]) - ENGINE MOUNTING - ENGINE (02) - ENGINE
21
27
10
16
47
23
17
18
20
11
17
49
3
52
21
8
38
12
21
40
20
19
28
7
32
17
22
11
26
41
18
20
16
31
24
20
10
39
44
17
43
35
29
42
2
46
20
20
45
51
50
43
42
20
37
48
15
16
19
45
14
13
25
19
20
18
34
44
9
15
21
18
30
19
26
14
16
36
FIT
1:1
100%

Артикул

Название

Примечание

Количество

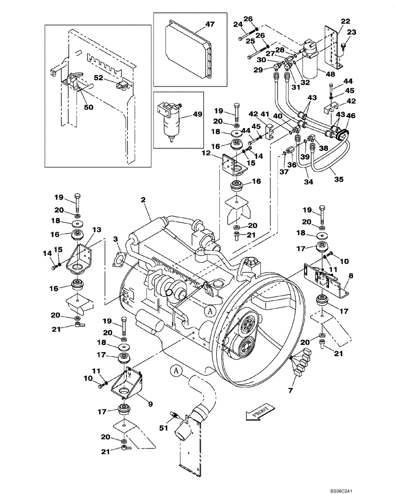
2

KSH10070

ENGINE ASSEMBLY

ENGINE ASSY Incl. 3, 7, 47 - 52, Also Includes Figures 02-005-01 01 - 02-110-01 01, 03-040-01 01 - 03-042-01 01, 04-060-01 01 - 04-815-02 01

1шт.

2

KSH10070EC

CORE-ENGINE

Environmental Core, For N.A. Only

1шт.

2

47609684ER

REMAN-BASIC ENGINE

1шт.

2

47609684EPAC

CORE-BASIC ENGINE

Return Number

1шт.

3

REF

INSTRUCTION

Gasket; See Figure 02-150-01 01, Ref. 84

1шт.

7

REF

INSTRUCTION

Harness; See Figure 04-810-01 01, Ref. 71

1шт.

8

KSH1067

ENGINE MOUNT

1шт.

9

KSH0908

ENGINE MOUNT

1шт.

10

627-10035

BOLT,Hex, M10 x 1.5 x 35mm, Cl 10.9, Full Thd

1шт.

11

150409A1

WASHER

W M10

1шт.

12

KSH0909

ENGINE MOUNT

1шт.

13

KSH0910

ENGINE MOUNT

1шт.

14

627-12040

BOLT,Hex, M12 x 1.75 x 40mm, Cl 10.9, Full Thd

1шт.

15

150811A1

WASHER

W12

1шт.

16

KTH0566

SILENTBLOC

1шт.

17

KTH0567

SILENTBLOC

1шт.

18

150874A1

WASHER

1шт.

19

827-20150

BOLT,Hex, M20 x 2.5 x 150mm, Cl 10.9

M10 x 150

1шт.

20

150817A1

WASHER,21mm ID x 40mm OD x 4.5mm Thk

W 20

1шт.

21

KSH0923

SPECIAL NUT

1шт.

22

KSH1055

SUPPORT

1шт.

23

166352A1

BOLT

M13 x 30

1шт.

24

102R008Y110R

BOLT

M8 x 110

1шт.

25

KHH0515

BOLT

M8 x 140

1шт.

26

153081A1

WASHER

W M8

1шт.

27

152012A1

ELEC CONNECTOR

1шт.

28

150542A1

O-RING

1шт.

29

157580A1

ELBOW,90 Degree, 3/4" O-Ring x 3/4"

1шт.

30

150542A1

O-RING

1шт.

31

157580A1

ELBOW,90 Degree, 3/4" O-Ring x 3/4"

1шт.

32

150542A1

O-RING

1шт.

34

KSH1054

HYDRAULIC HOSE,19.00 mm ID x 1550.00 mm

1шт.

35

KSH1056

HYDRAULIC HOSE,19.00 mm ID x 1670.00 mm

1шт.

36

152012A1

ELEC CONNECTOR

1шт.

37

154503A1

O-RING

1шт.

38

157580A1

ELBOW,90 Degree, 3/4" O-Ring x 3/4"

1шт.

39

154503A1

O-RING

1шт.

40

157580A1

ELBOW,90 Degree, 3/4" O-Ring x 3/4"

1шт.

41

154503A1

O-RING

1шт.

42

KHJ2283

COLLAR

1шт.

43

KHJ2023

HOSE CLAMP

1шт.

44

828-10060

BOLT,Hex, M10 x 1.5 x 60mm, Cl 10.9

1шт.

45

150409A1

WASHER

W M10

1шт.

46

KEJ0421

GROMMET

1шт.

47

REF

INSTRUCTION

Control Unit; See Figure 04-060-01 01 Ref. 613

1шт.

48

REF

INSTRUCTION

Oil Filter; See Figure 02-050-02 01 Ref. 496

1шт.

49

REF

INSTRUCTION

Fuel Filter; See Figure 03-041-01 01 Ref. 1

1шт.

50

REF

INSTRUCTION

Relay; See Figure 04-060-01 01 Ref. 424

1шт.

51

REF

INSTRUCTION

Sensor; See Figure 04-060-01 01 Ref. 797

1шт.

52

REF

INSTRUCTION

Sensor; See Figure 04-060-01 01 Ref. 796

1шт.

Выбрано товаров: 50