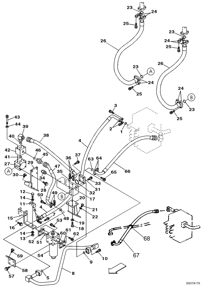
Запчасти Case CX330 (08-040-00[01]) - HYDRAULICS, AUXILIARY - SINGLE ACTING CIRCUIT, TRIGGER ACTIVATED (08) - HYDRAULICS

Схема запчастей Case CX330 - (08-040-00[01]) - HYDRAULICS, AUXILIARY - SINGLE ACTING CIRCUIT, TRIGGER ACTIVATED (08) - HYDRAULICS
4
19
46
23
24
58
14
11
23
25
52
25
64
10
23
9
35
41
42
44
21
25
32
65
30
23
62
26
49
54
17
24
13
28
60
27
18
31
59
16
57
34
1
53
25
39
63
22
12
5
68
14
66
2
48
61
50
40
47
15
24
20
8
36
43
3
26
38
6
33
7
37
67
4
24
51
29
45
FIT
1:1
100%

Артикул

Название

Примечание

Количество

1

155211A1

O-RING

1шт.

2

153459A1

FLANGE

Split

2шт.

3

862-10030

HEX SOC SCREW,M10 x 30mm, Cl 12.9

4шт.

4

KSJ2737

HYDRAULIC HOSE,31.80 mm ID x 1000.00 mm

1шт.

5

164450A1

O-RING

1шт.

6

150124A1

FLANGE

Split

2шт.

7

862-14045

HEX SOC SCREW,M14 x 45mm, Cl 12.9

4шт.

8

KSJ2799

HYD TUBE,34.7 mm ID x 42.7 mm OD

1шт.

9

164450A1

O-RING

1шт.

10

862-14045

HEX SOC SCREW,M14 x 45mm, Cl 12.9

4шт.

11

KTV1209

CLAMP

1шт.

12

827-16100

BOLT,Hex, M16 x 2 x 100mm, Cl 10.9

1шт.

13

829-1416

NUT,M16, Cl 10

1шт.

14

150814A1

WASHER,17mm ID x 32mm OD x 4.5mm Thk

2шт.

15

KSJ2800

BRACKET

1шт.

16

166352A1

BOLT

2шт.

17

KSJ2740

MANIFOLD

1шт.

18

627-16030

BOLT,Hex, M16 x 2 x 30mm, Cl 10.9, Full Thd

4шт.

19

150814A1

WASHER,17mm ID x 32mm OD x 4.5mm Thk

4шт.

20

KSJ2741

BRACKET

1шт.

21

627-16030

BOLT,Hex, M16 x 2 x 30mm, Cl 10.9, Full Thd

4шт.

22

150814A1

WASHER,17mm ID x 32mm OD x 4.5mm Thk

4шт.

23

164450A1

O-RING

4шт.

24

150124A1

FLANGE

Split

8шт.

25

862-14045

HEX SOC SCREW,M14 x 45mm, Cl 12.9

16шт.

26

KSJ2742

HYDRAULIC HOSE,31.8mm ID x 1670mm L

2шт.

27

163436A1

MANIFOLD

1шт.

28

166352A1

BOLT

4шт.

29

KSJ2743

BRACKET

1шт.

30

152718A1

BOLT,Spcl, Hex Wshr, M12 x 25mm, Cl 10.9

4шт.

31

163435A1

COVER

1шт.

32

154640A1

O-RING

1шт.

33

862-16030

HEX SOC SCREW,M16 x 30mm, Cl 12.9

1шт.

34

162656A1

VALVE

Relief

1шт.

35

164450A1

O-RING

1шт.

36

157856A1

CLAMP BRACKET

2шт.

37

862-10030

HEX SOC SCREW,M10 x 30mm, Cl 12.9

4шт.

38

KSJ2750

HYDRAULIC HOSE,31.80 mm ID x 780.00 mm

1шт.

39

157582A1

ELBOW,90 Degree, 1 1/4" O-Ring x 1 1/4"

Incl. 40

1шт.

40

154559A1

O-RING

1шт.

41

164450A1

O-RING

1шт.

42

162667A1

MANIFOLD

1шт.

43

862-14090

HEX SOC SCREW,M14 x 90mm, Cl 12.9

4шт.

44

150336A1

SPRING WASHER

4шт.

45

159047A1

ADAPTER

Incl. 46

1шт.

46

154559A1

O-RING

1шт.

47

KSJ2751

HYDRAULIC HOSE,31.80 mm ID x 700.00 mm

1шт.

48

164450A1

O-RING

1шт.

49

157856A1

CLAMP BRACKET

2шт.

50

862-10025

HEX SOC SCREW,M10 x 25mm, Cl 12.9

4шт.

51

154625A1

O-RING

1шт.

52

KSJ2752

FLANGE

Flat

1шт.

53

862-10025

HEX SOC SCREW,M10 x 25mm, Cl 12.9

4шт.

54

159704A1

FILTER ASSY

See Figure 08-254-00 01

1шт.

57

166052A1

BOLT

4шт.

58

KSJ2753

BRACKET

1шт.

59

166052A1

BOLT

2шт.

60

154625A1

O-RING

1шт.

61

KSJ2752

FLANGE

Flat

1шт.

62

862-10025

HEX SOC SCREW,M10 x 25mm, Cl 12.9

4шт.

63

164450A1

O-RING

1шт.

64

157856A1

CLAMP BRACKET

2шт.

65

862-10025

HEX SOC SCREW,M10 x 25mm, Cl 12.9

4шт.

66

KSJ2754

HYDRAULIC HOSE,31.80 mm ID x 1080.00 mm

Prior To P.I.N. DAC331483

1шт.

67

KSJ11830

HYDRAULIC HOSE

P.I.N. DAC331483 and After

1шт.

68

150496A1

MOUNTING CLIP

1шт.

Выбрано товаров: 66