Запчасти Case CX330 (08-045-00[01]) - HYDRAULICS, AUXILIARY - DOUBLE ACTING CIRCUIT, TRIGGER ACTIVATED (08) - HYDRAULICS

Схема запчастей Case CX330 - (08-045-00[01]) - HYDRAULICS, AUXILIARY - DOUBLE ACTING CIRCUIT, TRIGGER ACTIVATED (08) - HYDRAULICS
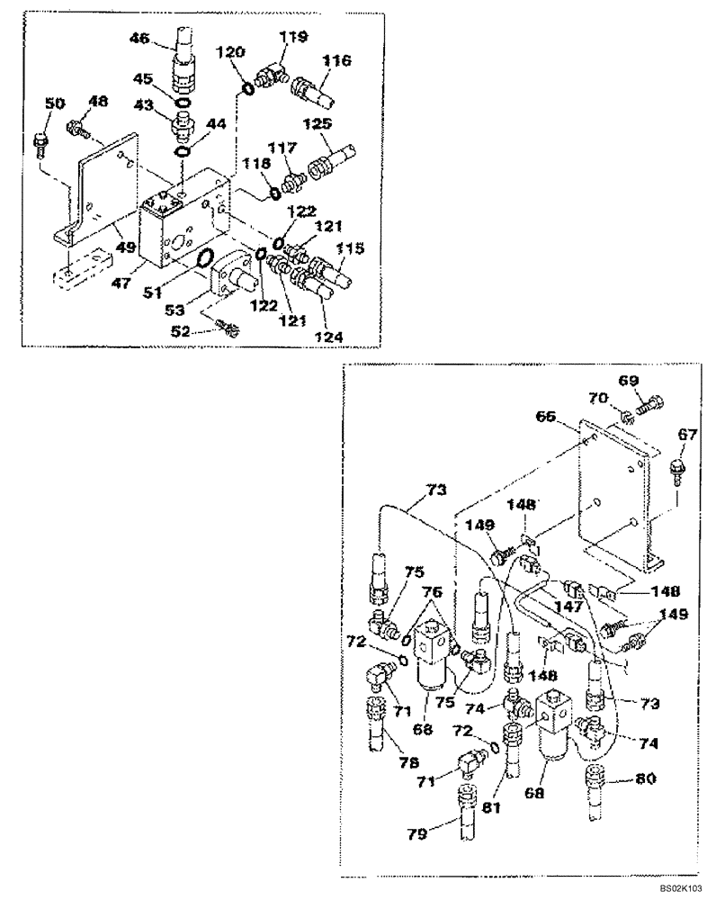
43
52
149
148
48
124
81
117
73
149
120
148
79
70
148
115
68
118
76
69
116
66
45
121
75
122
121
122
1
46
68
44
74
75
78
67
53
49
50
74
147
119
80
72
51
125
73
71
72
71
FIT
1:1
100%

Артикул

Название

Примечание

Количество

43

KHJ1348

ADAPTER

Incl. 44

1шт.

44

154503A1

O-RING

1шт.

45

KHJ1360

O-RING,0.07" Thk x 0.739" ID

1шт.

46

KSJ2803

HYDRAULIC HOSE,19.05 mm ID x 600.00 mm

1шт.

47

KHJ1340

VALVE

Holding; See Figure 08-253-00 01

1шт.

48

166052A1

BOLT

3шт.

49

KSJ2804

BRACKET

1шт.

50

152718A1

BOLT,Spcl, Hex Wshr, M12 x 25mm, Cl 10.9

2шт.

51

154528A1

O-RING

1шт.

52

862-10030

HEX SOC SCREW,M10 x 30mm, Cl 12.9

4шт.

53

KSJ2805

HYD TUBE,20.8 mm ID x 27.2 mm OD

1шт.

66

KSJ2835

BRACKET

1шт.

67

152718A1

BOLT,Spcl, Hex Wshr, M12 x 25mm, Cl 10.9

2шт.

68

162538A1

VALVE

Solenoid; See Figure 08-252-00 01

2шт.

69

627-6012

BOLT,Hex, M6 x 1 x 12mm, Cl 10.9, Full Thd

4шт.

70

892-11006

LOCK WASHER,M6

4шт.

71

150913A1

ELBOW,90 Degree, 1/4" O-Ring x 1/4"

Incl. 72

2шт.

72

154467A1

O-RING,10.8mm ID x 2.4mm Width

1шт.

73

168780A1

HYDRAULIC HOSE,6.30 mm ID x 350.00 mm

2шт.

74

167321A1

TEE

2шт.

75

150913A1

ELBOW,90 Degree, 1/4" O-Ring x 1/4"

Incl. 76

2шт.

76

154467A1

O-RING,10.8mm ID x 2.4mm Width

1шт.

78

KRJ4748

PLASTIC-RUBBER TUBE

1шт.

79

KAJ3243

HYDRAULIC HOSE

1шт.

80

151888A1

HOSE,63.00 mm ID x 1350.00 mm

1шт.

81

161494A1

HOSE ASSY.

1шт.

115

159019A1

HOSE ASSY.

1шт.

116

159019A1

HOSE ASSY.

1шт.

117

152127A1

HYD CONNECTOR,1/4" NPT O-Ring x 1/4" NPT

Incl. 118

1шт.

118

154467A1

O-RING,10.8mm ID x 2.4mm Width

1шт.

119

150913A1

ELBOW,90 Degree, 1/4" O-Ring x 1/4"

Incl. 120

1шт.

120

154467A1

O-RING,10.8mm ID x 2.4mm Width

1шт.

121

152127A1

HYD CONNECTOR,1/4" NPT O-Ring x 1/4" NPT

Incl. 122

2шт.

122

154467A1

O-RING,10.8mm ID x 2.4mm Width

1шт.

124

161648A1

HOSE ASSY.

1шт.

125

152514A1

HOSE,63mm ID x 1000mm L

1шт.

147

KHR3870

WIRE HARNESS

1шт.

148

158962A1

CLIP

3шт.

149

167518A1

BOLT

3шт.

Выбрано товаров: 0