Запчасти Case CX330 (08-203-00[01]) - CONTROL VALVE (08) - HYDRAULICS

Схема запчастей Case CX330 - (08-203-00[01]) - CONTROL VALVE (08) - HYDRAULICS
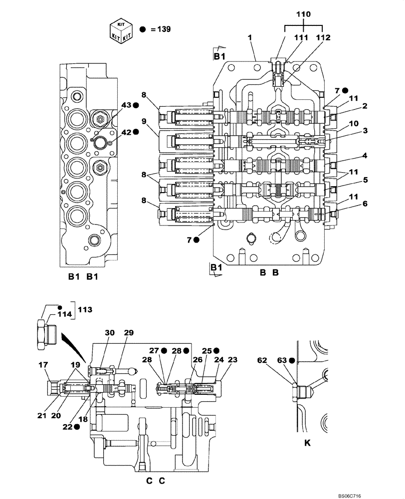
21
11
11
23
25
27
113
42
63
19
11
9
18
8
139
1
62
22
114
20
43
6
8
28
111
10
5
26
24
28
30
3
110
7
2
17
8
29
112
4
7
FIT
1:1
100%

Артикул

Название

Примечание

Количество

KSJ3106

CONTROL VALVE

Includes All Parts On Figures 08-201-00 01 - 08-205-00 01

1шт.

1

NSS

NOT SOLD SEPARAT

Housing, Valve

1шт.

2

NSS

NOT SOLD SEPARAT

Spool, Valve

1шт.

3

NSS

NOT SOLD SEPARAT

Spool, Valve

1шт.

4

NSS

NOT SOLD SEPARAT

Spool, Valve

1шт.

5

NSS

NOT SOLD SEPARAT

Spool, Valve

1шт.

6

NSS

NOT SOLD SEPARAT

Spool, Valve

1шт.

7

154589A1

O-RING

10шт.

8

LR00574

CAP

4шт.

9

LR00575

CAP

1шт.

10

LR00576

CAP

2шт.

11

LR00577

CAP

4шт.

17

LR00578

CAP

1шт.

18

NSS

NOT SOLD SEPARAT

Spool, Valve

1шт.

19

163393A1

SPRING SEAT

2шт.

20

LG00338

SPRING

1шт.

21

LPC0222

END FITTING

1шт.

22

154514A1

O-RING

1шт.

23

LK00300

PLUG

1шт.

24

154503A1

O-RING

1шт.

25

LG00339

SPRING

1шт.

26

LJ01282

SPOOL

1шт.

27

154483A1

O-RING

1шт.

28

153967A1

BACK-UP RING

2шт.

29

LJ00726

VALVE POPPET

1шт.

30

LG00340

SPRING

1шт.

42

154447A1

O-RING

1шт.

43

154439A1

O-RING

1шт.

62

LK00305

PLUG

1шт.

63

154475A1

O-RING

1шт.

110

LJ00735

VALVE

Incl. 111, 112

1шт.

111

155224A1

O-RING

1шт.

112

154495A1

O-RING

1шт.

113

163369A1

PLUG

Incl. 114

1шт.

114

154475A1

O-RING

1шт.

139

LZ00629

SEAL KIT

Incl. 7, 22, 24, 27, 28, 42, 43, 63; Also Includes Figure 08-201-00 01 Ref. 132, Figure 08-202-00 01 Ref. 7, 42, 43, 66, 67, Figure 08-204-00 01 Ref. 33, Figure 08-205-00 01 Ref. 33, 48, 54, 55, 65

1шт.

Выбрано товаров: 0