Запчасти Case CX330 (08-204-00[01]) - CONTROL VALVE (08) - HYDRAULICS

Схема запчастей Case CX330 - (08-204-00[01]) - CONTROL VALVE (08) - HYDRAULICS
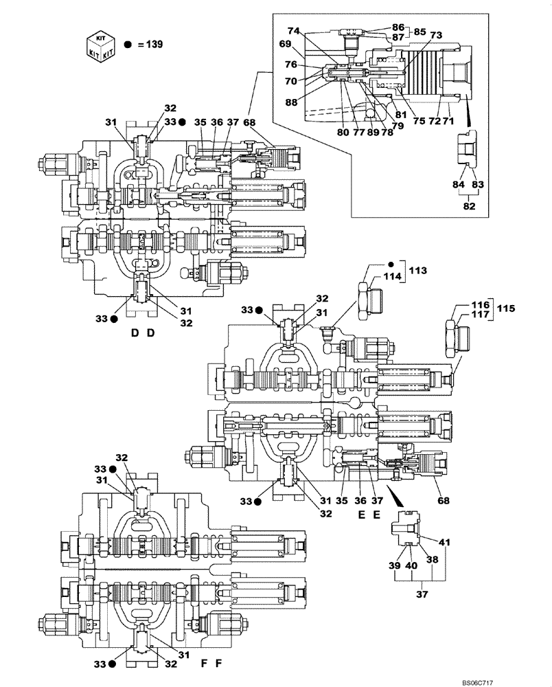
31
33
74
68
31
86
83
75
82
78
79
37
88
41
113
68
31
70
38
69
80
33
73
32
31
32
36
71
115
33
31
87
32
84
32
37
116
33
139
114
36
35
117
72
37
39
81
31
40
35
32
89
33
33
76
77
32
85
FIT
1:1
100%

Артикул

Название

Примечание

Количество

KSJ3106

CONTROL VALVE

Includes All Parts On Figures 08-201-00 01 - 08-205-00 01

1шт.

31

LJ00727

VALVE POPPET

6шт.

32

LG00341

SPRING

6шт.

33

154539A1

O-RING

6шт.

35

163390A1

VALVE POPPET

2шт.

36

163394A1

SPRING

2шт.

37

163374A1

SPACER

Incl. 38 - 41

2шт.

38

LK00321

PLUG

1шт.

39

154507A1

O-RING

1шт.

40

153987A1

BACK-UP RING

1шт.

41

154471A1

O-RING

1шт.

68

LJ00732

PILOT VALVE

Incl. 69 - 89

2шт.

69

LR00631

BODY

1шт.

70

NSS

NOT SOLD SEPARAT

Poppet

1шт.

71

LK00323

PLUG

1шт.

72

LJ00804

PISTON

1шт.

73

NSS

NOT SOLD SEPARAT

Spool

1шт.

74

NSS

NOT SOLD SEPARAT

Sleeve

1шт.

75

LG00366

SPRING

1шт.

76

LG00367

SPRING

1шт.

77

154458A1

O-RING

1шт.

78

155086A1

O-RING

1шт.

79

154420A1

RING

1шт.

80

153949A1

BACK-UP RING

1шт.

81

155225A1

O-RING

1шт.

82

LK00325

PLUG

Incl. 83, 84

1шт.

83

LK00324

PLUG

1шт.

84

155225A1

O-RING

1шт.

85

163368A1

PLUG

Incl. 86

1шт.

86

LK00326

PLUG

1шт.

87

154455A1

O-RING

1шт.

88

LR00632

SPRING SEAT

1шт.

89

NSS

NOT SOLD SEPARAT

Ball

1шт.

113

163369A1

PLUG

Incl. 114

1шт.

114

154475A1

O-RING

1шт.

115

163972A1

PLUG

Incl. 116, 117

1шт.

116

LK00328

PLUG

1шт.

117

154467A1

O-RING,10.8mm ID x 2.4mm Width

1шт.

139

LZ00629

SEAL KIT

Incl. 33; Also Includes Figure 08-201-00 01 Ref. 132, Figure 08-202-00 01 Ref 7, 42, 43, 66, 67, Figure 08-203-00 01 Ref. 7, 22, 24, 27, 28, 42, 43, 63, Figure 08-205-00 01 Ref. 33, 48, 54, 55, 65

1шт.

Выбрано товаров: 39