Запчасти Case CX330 (08-401-00[01]) - SAFETY VALVE - DIPPER CYLINDER (08) - HYDRAULICS

Схема запчастей Case CX330 - (08-401-00[01]) - SAFETY VALVE - DIPPER CYLINDER (08) - HYDRAULICS
34
9
27
3
26
38
23
31
25
32
14
42
41
15
24
39
22
37
7
43
16
33
40
5
28
1
36
18
30
2
19
10
18
13
12
20
35
6
21
11
4
17
8
FIT
1:1
100%

Артикул

Название

Примечание

Количество

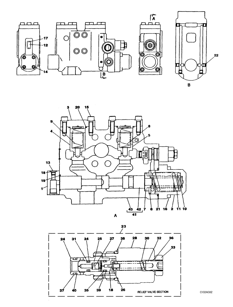
KSV1458

SAFETY VALVE

Holding, Arm Cylinder, Models With Load Hold; Incl. 1 - 43

1шт.

1

164985A1

COVER

1шт.

2

164986A1

COVER

1шт.

3

164987A1

COVER

2шт.

4

164988A1

PLUNGER

1шт.

5

164989A1

PLUNGER

1шт.

6

164990A1

SPACER

1шт.

7

164991A1

HOLDER

1шт.

8

164992A1

SPRING

1шт.

9

164993A1

SPRING

1шт.

10

164994A1

SPRING

1шт.

11

164995A1

SPRING

1шт.

12

NSS

NOT SOLD SEPARAT

Plate

1шт.

13

155510A1

PLUG

1шт.

14

861-8035

HEX SOC SCREW,M8 x 35mm, Cl 12.9

4шт.

15

861-10030

HEX SOC SCREW,M10 x 30mm, Cl 12.9

12шт.

16

863-10040

HEX SOC SCREW,M10 x 40mm, Cl 12.9

4шт.

17

LA00769

RIVET

2шт.

18

154455A1

O-RING

1шт.

19

154624A1

O-RING

1шт.

20

154569A1

O-RING

2шт.

21

154657A1

O-RING

1шт.

22

163873A1

PLUG

1/16 NPTF

6шт.

23

LJ00966

VALVE, PRESSURE RELI

EF Incl. 24 - 40

1шт.

24

NSS

NOT SOLD SEPARAT

Sleeve

1шт.

25

NSS

NOT SOLD SEPARAT

Poppet, Valve

1шт.

26

NSS

NOT SOLD SEPARAT

Needle

1шт.

27

NSS

NOT SOLD SEPARAT

Spring, Compression

1шт.

28

NSS

NOT SOLD SEPARAT

body

1шт.

29

NSS

NOT SOLD SEPARAT

Seat, Spring

1шт.

30

NSS

NOT SOLD SEPARAT

Spring

1шт.

31

NSS

NOT SOLD SEPARAT

Ring, Backup

1шт.

32

NSS

NOT SOLD SEPARAT

Screw

1шт.

33

165150A1

NUT

M12

1шт.

34

154454A1

O-RING

1шт.

35

154459A1

O-RING

1шт.

36

154463A1

O-RING

1шт.

37

154475A1

O-RING

1шт.

38

154515A1

O-RING

1шт.

39

153949A1

BACK-UP RING

1шт.

40

153961A1

BACK-UP RING

1шт.

41

LR00873

VALVE BODY

Incl. 42, 43

1шт.

42

NSS

NOT SOLD SEPARAT

Spool

1шт.

43

NSS

NOT SOLD SEPARAT

Body

1шт.

Выбрано товаров: 44