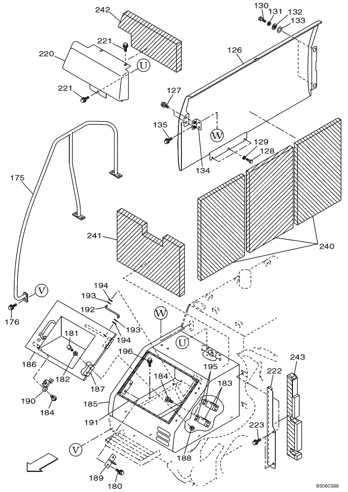
Запчасти Case CX330 (09-008-00[01]) - STORAGE BOX - INSULATION (09) - CHASSIS

Схема запчастей Case CX330 - (09-008-00[01]) - STORAGE BOX - INSULATION (09) - CHASSIS
190
181
194
180
222
221
192
186
241
220
221
185
128
175
129
183
194
242
133
243
127
126
193
188
240
176
184
187
130
195
182
193
134
223
135
191
132
180
184
131
196
FIT
1:1
100%

Артикул

Название

Примечание

Количество

126

KSN1186Y2

COVER

1шт.

127

166352A1

BOLT

M12 x 30

2шт.

128

627-12035

BOLT,Hex, M12 x 1.75 x 35mm, Cl 10.9, Full Thd

3шт.

129

151161A1

WASHER

3шт.

130

627-12035

BOLT,Hex, M12 x 1.75 x 35mm, Cl 10.9, Full Thd

2шт.

131

150811A1

WASHER

2шт.

132

162409A1

WASHER

2шт.

133

KHN2061

WASHER

2шт.

134

KTN1305

SUPPORT

1шт.

135

152718A1

BOLT,Spcl, Hex Wshr, M12 x 25mm, Cl 10.9

2шт.

175

KSN1358Y2

HANDRAIL

1шт.

176

166352A1

BOLT

M12 x 30

5шт.

180

166352A1

BOLT

M12 x 30

2шт.

181

627-12035

BOLT,Hex, M12 x 1.75 x 35mm, Cl 10.9, Full Thd

4шт.

182

150811A1

WASHER

4шт.

183

152772A1

HOLDER

2шт.

184

166351A1

BOLT,Sems, M10 x 20mm

M10 x 20

6шт.

185

KSN1385Y2

BOX

1шт.

186

KTN1264Y2

FRONT PLATE

Incl. 187

1шт.

187

151104A1

HINGE

2шт.

188

829-1412

NUT,M12, Cl 10.9

4шт.

189

KTN1316

CATCH

1шт.

190

HEN0116

LOCK

1шт.

191

KTN1391

SEAL, RUBBER

RUBBER SEAL

1шт.

192

159119A1

STAY

1шт.

193

895-11010

WASHER,11mm ID x 20mm OD x 2mm Thk

2шт.

194

153181A1

COTTER PIN

2шт.

195

KHN3548

PLATE

1шт.

196

166352A1

BOLT

M12 x 30

6шт.

220

KSN1240Y2

COVER

1шт.

221

166352A1

BOLT

M12 x 30

3шт.

222

KSN10130Y2

COVER

1шт.

223

152718A1

BOLT,Spcl, Hex Wshr, M12 x 25mm, Cl 10.9

M12 x 35; 10.9

2шт.

240

KSN10170

NOISE PROTECTION

3шт.

241

KSN10160

NOISE PROTECTION

1шт.

242

KSN10150

NOISE PROTECTION

1шт.

243

KSN10480

NOISE PROTECTION

1шт.

Выбрано товаров: 37