Запчасти Case CX330 (09-025-01[01]) - CONDENSER ASSEMBLY (09) - CHASSIS

Схема запчастей Case CX330 - (09-025-01[01]) - CONDENSER ASSEMBLY (09) - CHASSIS
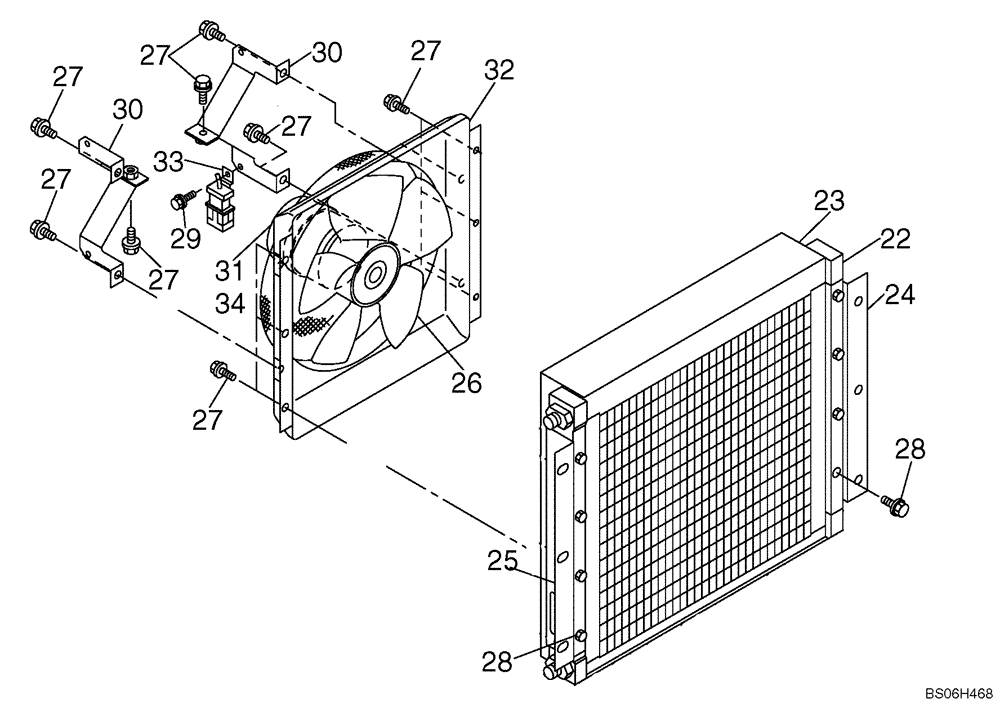
30
22
27
30
32
27
27
23
27
24
33
27
34
27
31
25
28
26
29
27
28
FIT
1:1
100%

Артикул

Название

Примечание

Количество

KHR2989

CONDENSER

Incl. 22 - 34

1шт.

22

KHR15300

CONDENSER

Condenser

1шт.

23

KHR15310

SUPPORT

1шт.

24

KHR15320

SUPPORT

1шт.

25

KHR15330

SUPPORT

1шт.

26

KHR15340

FAN

1шт.

27

KHR15350

BOLT,Spcl

M6 x 16

1шт.

28

KHR15360

BOLT,Spcl

M6 x 50

1шт.

29

KHR15370

BOLT,Spcl

M5 x 12

1шт.

30

KHR15380

SUPPORT

1шт.

31

KHR15390

FOAM INSULATION

1шт.

32

KHR15400

COVER

1шт.

33

KHR15410

SUPPORT

1шт.

34

KHR15420

ELECTRIC MOTOR

1шт.

Выбрано товаров: 14