Запчасти Case CX330 (02-012-01[01]) - CYLINDER BLOCK (02) - ENGINE

Схема запчастей Case CX330 - (02-012-01[01]) - CYLINDER BLOCK (02) - ENGINE
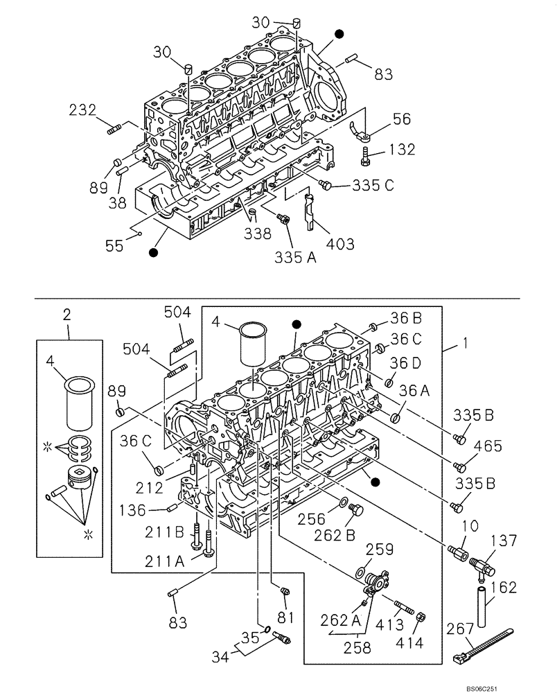
30
335a
81
2
38
414
30
259
162
83
413
338
262b
1
212
137
211a
36b
335b
89
136
55
258
267
262a
36d
89
56
335c
504
4
132
403
256
465
211b
232
504
335b
36c
35
34
36c
10
83
36a
4
FIT
1:1
100%

Артикул

Название

Примечание

Количество

1

87377934

CYLINDER BLOCK

Incl. 36A, 36B, 36C, 36D, 136, 211A, 211B, 212, 256, 258, 259, 262B, 413, 414

1шт.

2

87377936

KIT, LINER, PISTON R

OD Grade=1X; Incl. 4

6шт.

2

87377937

KIT, LINER, PISTON R

OD Grade=3X; Incl. 4

6шт.

4

87435183

SLEEVE CYLINDER

OD Grade=1X, ID=N

6шт.

4

87379453

LINER, ENGINE CYLIND

OD Grade=3X, ID=N

6шт.

10

438126A1

FITTING

1шт.

30

438157A1

PIN

2шт.

34

438081A1

VALVE

Incl. 25

1шт.

35

289419A1

PACKING

1шт.

36a

289074A1

CUP

4шт.

36b

289076A1

CUP

1шт.

36c

438142A1

PLUG

1шт.

36d

87379455

PLUG

4шт.

38

438159A1

PIN

2шт.

55

438177A1

PLUG

1шт.

56

438107A1

JET

6шт.

81

438139A1

PLUG

1шт.

83

438159A1

PIN

2шт.

89

438189A1

PLUG

3шт.

132

438094A1

VALVE

6шт.

136

87377938

BUSHING

2шт.

137

289105A1

COCK, DRAIN

1шт.

162

87379457

HOSE

L350 mm

1шт.

211a

438124A1

BOLT

M14 x 115

14шт.

211b

438151A1

BOLT

M10 x 82

25шт.

212a

87379458

PIN

2шт.

212b

87379460

STUD

1шт.

256

288565A1

GASKET

1шт.

258

87377941

ADAPTER

Incl. 262A

1шт.

259

87379486

GASKET

1шт.

262a

426638A1

PLUG

1шт.

262b

87379489

PLUG

1шт.

267

288858A1

COLLAR CLAMP

Replaces 438022A1

1шт.

335a

87379491

PLUG

1шт.

335b

76592283

PLUG

4шт.

335c

87377930

PLUG

2шт.

338

357413A1

RING

1шт.

403

438108A1

GUIDE

1шт.

413

87379492

STUD

2шт.

414

288709A1

NUT

2шт.

465

76592283

PLUG

2шт.

504

87379493

STUD

2шт.

Выбрано товаров: 42