Качественные детали и логистика
Оригинальные и аналоговые запчасти с доставкой по России, Казахстану и Беларуси
©2022 PartSell ООО "Система" ИНН 2463123282 ОГРН 1212400004838
Центральный офис: г. Красноярск, Академика Киренского, д.87, пом.4
Телефон: 8 (800) 777-65-74 Email: zakaz@partsell.ru
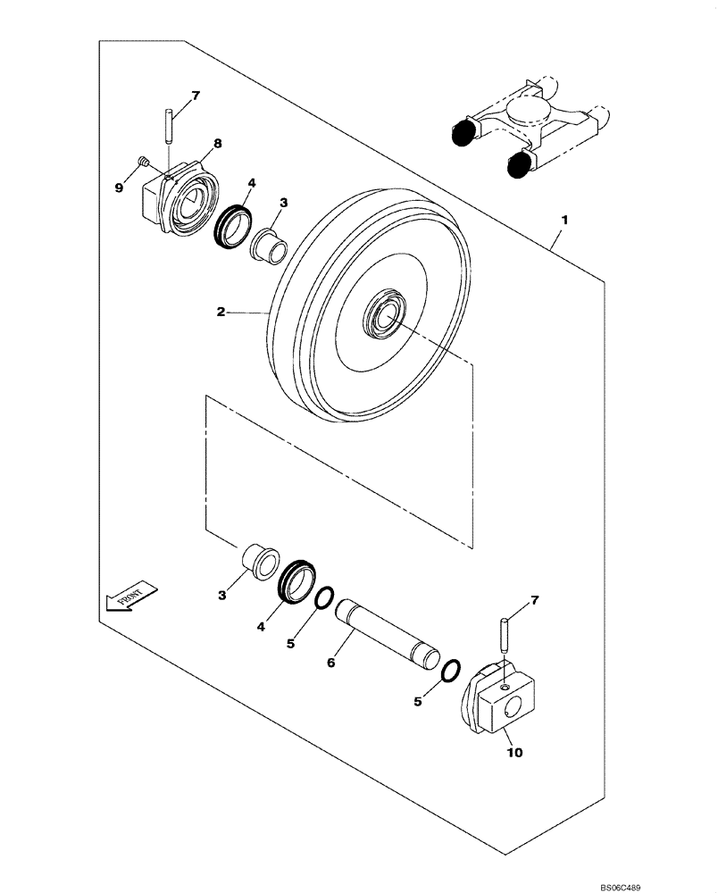
(05-004-00[01]) - TRACK - IDLER
№
Артикул
Название
Примечание
Количество
1
KSA11770
FLEETING PULLEY
Incl. 2 - 10, Replaces KSA1307
2шт.
2
KSA1308
TIGHTENER SHEAVE
1шт.
3
165827A1
BUSHING
4
165829A1
SEAL
5
154687A1
O-RING
6
165825A1
SHAFT
7
165828A1
PIN
8
KSA11780
HUB
Replaces 165826A1
9
150821A1
PLUG
10
KSA11840
Replaces KSA1280
Выбрано товаров: 0