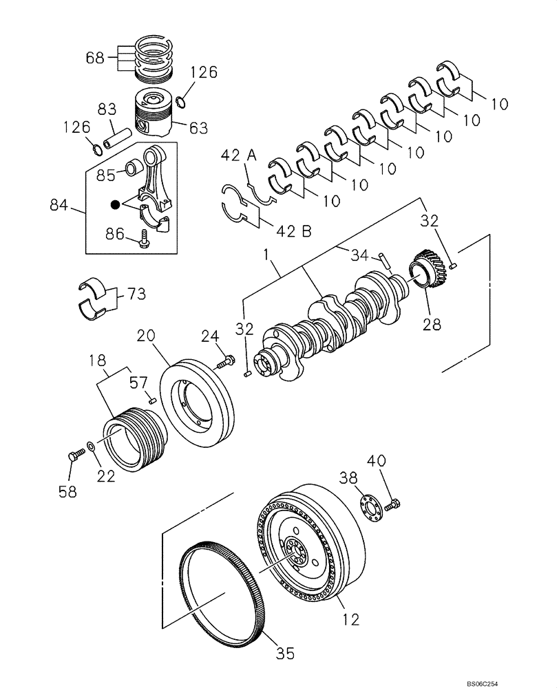
Запчасти Case CX330 (02-015-01[01]) - PISTONS AND CRANKSHAFT (02) - ENGINE

Схема запчастей Case CX330 - (02-015-01[01]) - PISTONS AND CRANKSHAFT (02) - ENGINE
126
38
84
42a
20
86
18
126
42b
10
32
63
83
10
68
24
28
32
12
58
10
10
85
1
22
35
10
10
40
10
34
73
57
FIT
1:1
100%

Артикул

Название

Примечание

Количество

1

87379564

CRANKSHAFT

Incl. 32, 24

1шт.

10

87379566

SET OF STD MAIN BRGS,Half Round, 87mm OD x 27.2mm W x 2.522-2.526mm Thk

Blue

7шт.

10

87379569

SET OF STD MAIN BRGS,Half Round, 87mm OD x 27.2mm W x 2.518-2.522mm Thk

Black

7шт.

10

87379572

SET OF STD MAIN BRGS,Half Round, 87mm OD x 27.2mm W x 2.514-2.518mm Thk

Brown

7шт.

12

87378173

FLYWHEEL

1шт.

18

437905A1

PULLEY

Incl. 57

1шт.

20

438093A1

DAMPER

1шт.

22

438188A1

PLATE

4шт.

24

87597950

BOLT

Replaces 426275A1

6шт.

28

87378184

IDLER GEAR

1шт.

32

289770A1

PIN

2шт.

34

419830A1

SMALL PIN

1шт.

35

438063A1

GEAR

1шт.

38

438140A1

WASHER

1шт.

40

438080A1

BOLT

8шт.

42a

438144A1

WASHER

1шт.

42b

438146A1

WASHER

2шт.

57

438051A1

PIN

1шт.

58

438192A1

BOLT

4шт.

63

87378185

PISTON

Grade= Non

6шт.

68

87378526

PISTON RINGS KIT

6шт.

73

87477008

CRANKSHAFT BEARING,Half Round, 78mm OD x 30.3mm W x 2.511-2.517mm Thk

Green, Replaces 438113A1

6шт.

73

87738592

CRANKSHAFT BEARING,Half Round, 78mm OD x 30.3mm W x 2.507-2.513mm Thk

Yellow, Replaces 438164A1

6шт.

83

438132A1

PISTON PIN

6шт.

84

87387355

PITMAN ASSY.

Incl. 85, 86; Replaces 438156A1

6шт.

85

438097A1

BRONZE BUSHING

BRONZE BUSH

6шт.

86

437902A1

BOLT

12шт.

126

437874A1

CIRCLIP

12шт.

Выбрано товаров: 28