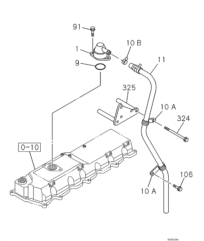
Запчасти Case CX330 (02-028-01[01]) - BREATHER (02) - ENGINE

Схема запчастей Case CX330 - (02-028-01[01]) - BREATHER (02) - ENGINE
1
106
11
324
10a
325
10b
91
0-10
10a
9
FIT
1:1
100%

Артикул

Название

Примечание

Количество

0-10

REF

INSTRUCTION

See Figure 02-010-01 01

1шт.

1

87378557

BREATHER

1шт.

9

426077A1

GASKET

1шт.

10a

87378559

CLIP

2шт.

10b

426078A1

CLIP

1шт.

11

87378560

HOSE,5918.00 mm

1шт.

91

288993A1

FLANGE BOLT

M10 x 20

2шт.

106

288993A1

FLANGE BOLT

M10 x 20

1шт.

324

437856A1

BOLT

M10 x 150

2шт.

325

87378561

BRACKET

1шт.

Выбрано товаров: 10