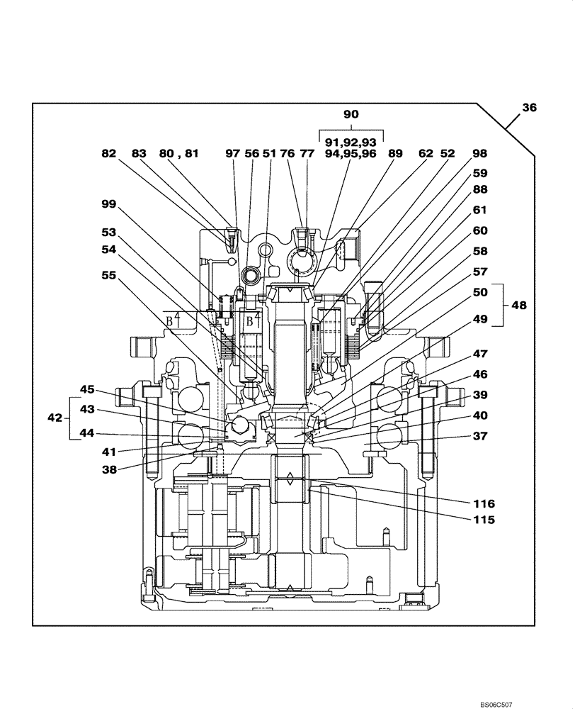
Запчасти Case CX330 (06-002-00[01]) - TRAVEL MOTOR (06) - POWER TRAIN

Схема запчастей Case CX330 - (06-002-00[01]) - TRAVEL MOTOR (06) - POWER TRAIN
98
58
39
40
51
97
92
93
46
91
50
96
82
59
56
45
43
49
77
95
83
47
62
61
115
55
53
99
48
42
37
89
90
88
94
44
41
38
54
52
36
80
81
57
60
116
76
FIT
1:1
100%

Артикул

Название

Примечание

Количество

KSA10220

MOTO-REDUCTION GEAR

Includes Figures 06-001-00 00 - 06-003-00 00

1шт.

LJ018710R

REMAN-HYD MOTOR

Motor Only. Reducer PN LN002190 And Spool PN LJ018600 Must Also Be Ordered When Replacing KSA10220

1шт.

LJ018710C

CORE-MOTOR HYDRAULIC

Return Number

1шт.

36

LJ013790

MOTOR, HYDRAULIC

Incl. 37 - 116; Also Includes Parts on Figure 06-003-00 01

1шт.

37

LW005420

HOUSING

CASE, S/N S630065 And After, Replaces LW004710

1шт.

38

LK005330

PLUG

1шт.

39

LE00997

OIL SEAL

1шт.

40

800-2168

SNAP RING,M68, Int

1шт.

41

LK00394

PLUG

1шт.

42

LJ013800

PISTON

Incl. 43, 44

1шт.

43

LJ013810

PISTON

1шт.

44

LE012890

SEAL

1шт.

45

LB011180

BALL

1шт.

46

LB00792

DRIVE SHAFT

1шт.

47

LB00796

TAPERED BEARING,45mm ID x 85mm OD x 24.75mm W

1шт.

48

LR013570

PLATE

Incl. 49, 50

1шт.

49

LB00794

BEARING, ROLLER

2шт.

50

LR013580

PLATE

1шт.

51

LS002910

BRACKET

1шт.

52

LG00430

COMPRESSION SPRING

9шт.

53

LR00950

SPRING SEAT

1шт.

54

LB00795

BALL JOINT

1шт.

55

LH00320

RETAINER

1шт.

56

LJ00968

JACK PISTON

9шт.

57

LR00859

ADJUSTING PLATE

7шт.

58

LR00858

PLATE

6шт.

59

LJ00954

PISTON

1шт.

60

LE012900

SEALING RING

SEALRING

1шт.

61

LE012910

SEALING RING

SEALRING

1шт.

62

LW004720

COVER

1шт.

76

LK00391

PLUG

2шт.

77

154467A1

O-RING,10.8mm ID x 2.4mm Width

2шт.

80

TK00028

PLUG

5шт.

81

154455A1

O-RING

5шт.

82

TJ00129

CHECK VALVE

3шт.

83

TG00045

SPRING

3шт.

88

LE00999

O-RING

2шт.

89

LB00797

TAPERED BEARING,35mm ID x 72mm OD x 24.25mm W

1шт.

90

LH00389

SHIM KIT

Incl. 91 - 96

1шт.

91

LH00428

SHIM,0.4mm Thk

1шт.

92

LH00429

SHIM,0.5mm Thk

1шт.

93

LH00430

SHIM,0.6mm Thk

1шт.

94

LH00431

SHIM,0.7mm Thk

1шт.

95

LH00432

SHIM,0.8mm Thk

1шт.

96

LH00433

SHIM,0.9mm Thk

1шт.

97

837-8012

DOWEL,M8 x 12

1шт.

98

LR00877

PLATE

1шт.

99

LG00431

COMPRESSION SPRING

14шт.

115

LB00793

COUPLING FLANGE

1шт.

116

800-2140

SNAP RING,M40, Int

1шт.

Выбрано товаров: 50